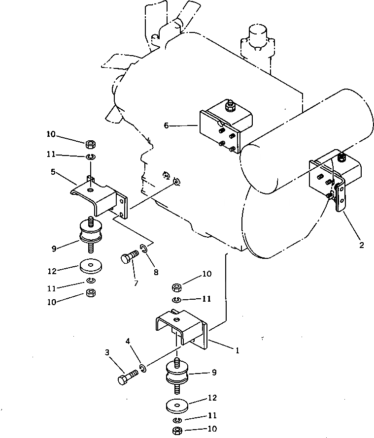
Запчасти Komatsu PC28UU-1 КРЕПЛЕНИЕ ДВИГАТЕЛЯ КОМПОНЕНТЫ ДВИГАТЕЛЯ И ЭЛЕКТРИКА

Схема запчастей Komatsu PC28UU-1 - КРЕПЛЕНИЕ ДВИГАТЕЛЯ КОМПОНЕНТЫ ДВИГАТЕЛЯ И ЭЛЕКТРИКА
FIT
1:1
100%

Артикул

Название

Примечание

Количество

1

21U-01-11290

BRACKET,L.H.

2

21U-01-11280

BRACKET,R.H.

3

01010-51025

BOLT

4

01602-21030

WASHER,SPRING

5

21U-01-11230

BRACKET,L.H.

6

21U-01-11220

BRACKET,R.H.

7

01010-51025

BOLT

8

01602-21030

WASHER,SPRING

9

FF7810-01110

CUSHION

10

01580-11210

NUT

11

01602-21236

WASHER,SPRING

12

21U-01-11450

SPACER

Выбрано товаров: 0