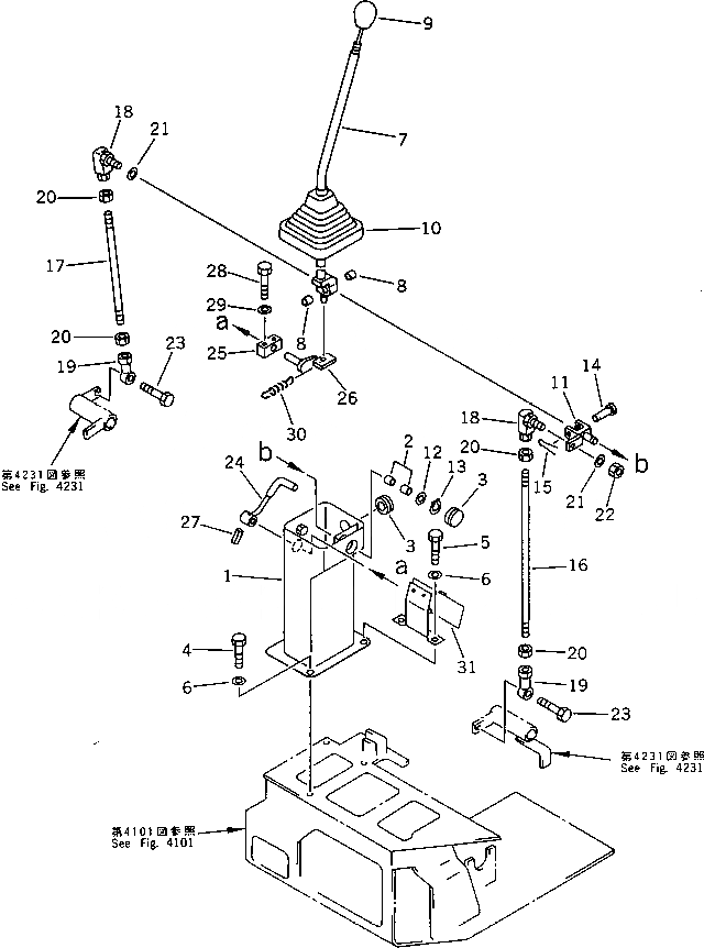
Запчасти Komatsu PC28UU-1 СТРЕЛА И КОВШ РЫЧАГ УПРАВЛ-Я СИСТЕМА УПРАВЛЕНИЯ И ОСНОВНАЯ РАМА

Схема запчастей Komatsu PC28UU-1 - СТРЕЛА И КОВШ РЫЧАГ УПРАВЛ-Я СИСТЕМА УПРАВЛЕНИЯ И ОСНОВНАЯ РАМА
FIT
1:1
100%

Артикул

Название

Примечание

Количество

1

21U-43-11525

STAND,R.H.

|1

21U-43-11520

STAND,R.H.

2

203-43-31420

BUSHING

3

09415-02512

CAP

|3

21U-43-11270

CAP

4

01010-51225

BOLT

5

01010-51230

BOLT

|5

01010-51225

BOLT

6

01643-31232

WASHER

7

21U-43-11511

LEVER,R.H.

8

203-43-31420

BUSHING

9

203-06-42130

SWITCH,HORN

10

20X-43-21730

BOOT

11

205-43-52140

YOKE

12

01641-21423

WASHER

13

04064-01410

RING,SNAP

14

04205-11450

PIN

15

04050-14022

PIN,COTTER

16

04245-41046

ROD

17

04245-41031

ROD

18

207-43-11170

JOINT

19

04250-81056

END,ROD

20

01582-11008

NUT

21

01643-31032

WASHER

22

01582-11008

NUT

23

01010-51025

BOLT

24

205-43-63820

LEVER,R.H.

25

20S-43-21390

BLOCK

26

20S-43-21380

LEVER,LOCK

27

04025-00520

PIN,SPRING

28

01010-50840

BOLT

29

01643-30823

WASHER

30

203-43-21370

SPRING

31

21U-43-11760

LOCK

Выбрано товаров: 34