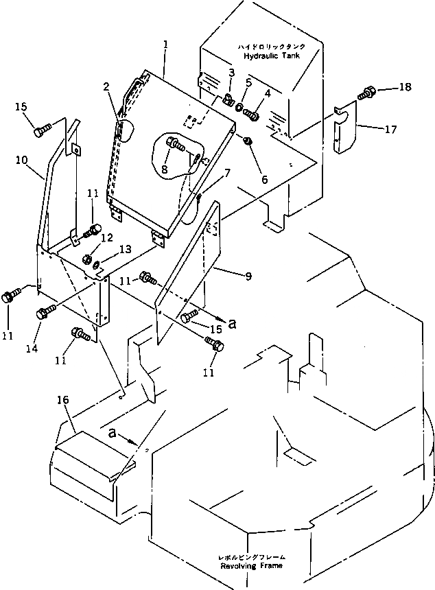
Запчасти Komatsu PC28UU-1 ПОЛ КАБИНЫ (/) ЧАСТИ КОРПУСА

Схема запчастей Komatsu PC28UU-1 - ПОЛ КАБИНЫ (/) ЧАСТИ КОРПУСА
FIT
1:1
100%

Артикул

Название

Примечание

Количество

1

21U-54-11631

COVER

2

21U-54-11670

SEAT

3

21U-54-11660

STOPPER

4

01220-40412

SCREW

5

01641-20405

WASHER

6

203-54-32260

STOPPER

7

21U-54-11651

WIRE

8

01435-00816

BOLT

9

21U-54-11611

COVER

10

21U-54-11621

COVER

11

01435-00816

BOLT

12

01580-10806

NUT

13

01641-20812

WASHER

14

01435-00816

BOLT

15

01010-51020

BOLT

16

21U-54-11680

PLATE

17

21U-54-11320

PLATE

18

01435-00816

BOLT

Выбрано товаров: 18