Запчасти Komatsu PC28UU-1 НАВЕС ЧАСТИ КОРПУСА

Схема запчастей Komatsu PC28UU-1 - НАВЕС ЧАСТИ КОРПУСА
FIT
1:1
100%

Артикул

Название

Примечание

Количество

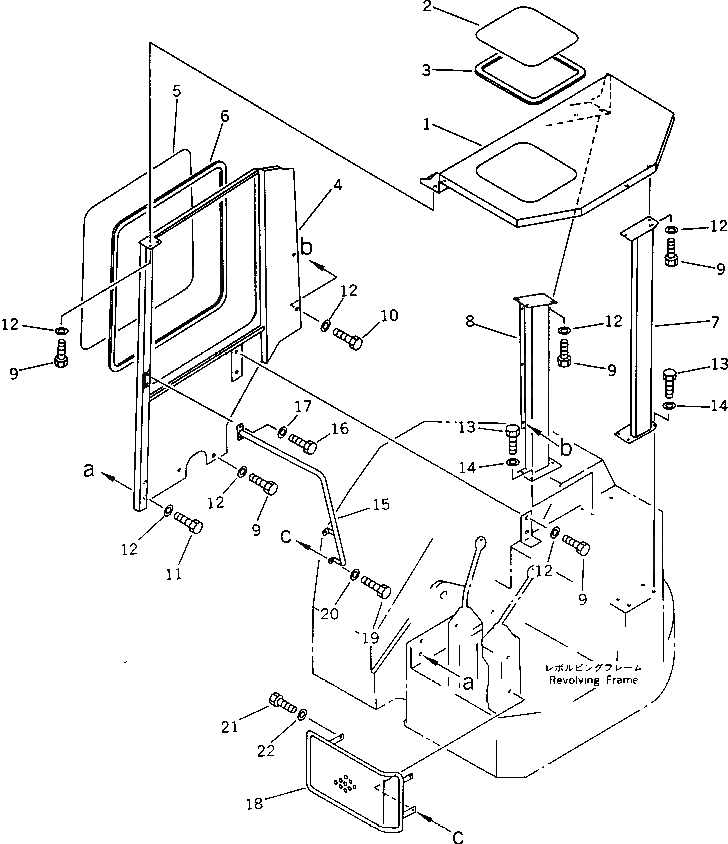
1

21U-54-15215

ROOF

|1

21U-54-15211

ROOF

2

21U-54-15230

PLATE

3

21U-54-15240

STRIP,WEATHER

4

21U-54-15315

PLATE

|4

21U-54-15310

PLATE

5

21U-54-15321

PLATE

|5

21U-54-15320

PLATE

6

21U-54-15330

STRIP,WEATHER

7

21U-54-15115

POLE,L.H.

|7

21U-54-15111

POLE,L.H.

8

21U-54-15125

POLE,R.H.

|8

21U-54-15121

POLE,R.H.

9

01010-51025

BOLT

10

01010-51020

BOLT

11

01010-51030

BOLT

12

01643-31032

WASHER

13

01010-51230

BOLT

14

01643-31232

WASHER

15

21U-54-11451

STAY

16

01010-51016

BOLT

17

01643-31032

WASHER

18

21U-54-12210

GUARD

19

01010-51040

BOLT

|19

01010-51016

BOLT

20

01643-31032

WASHER

21

01010-51016

BOLT

22

01643-31032

WASHER

Выбрано товаров: 28