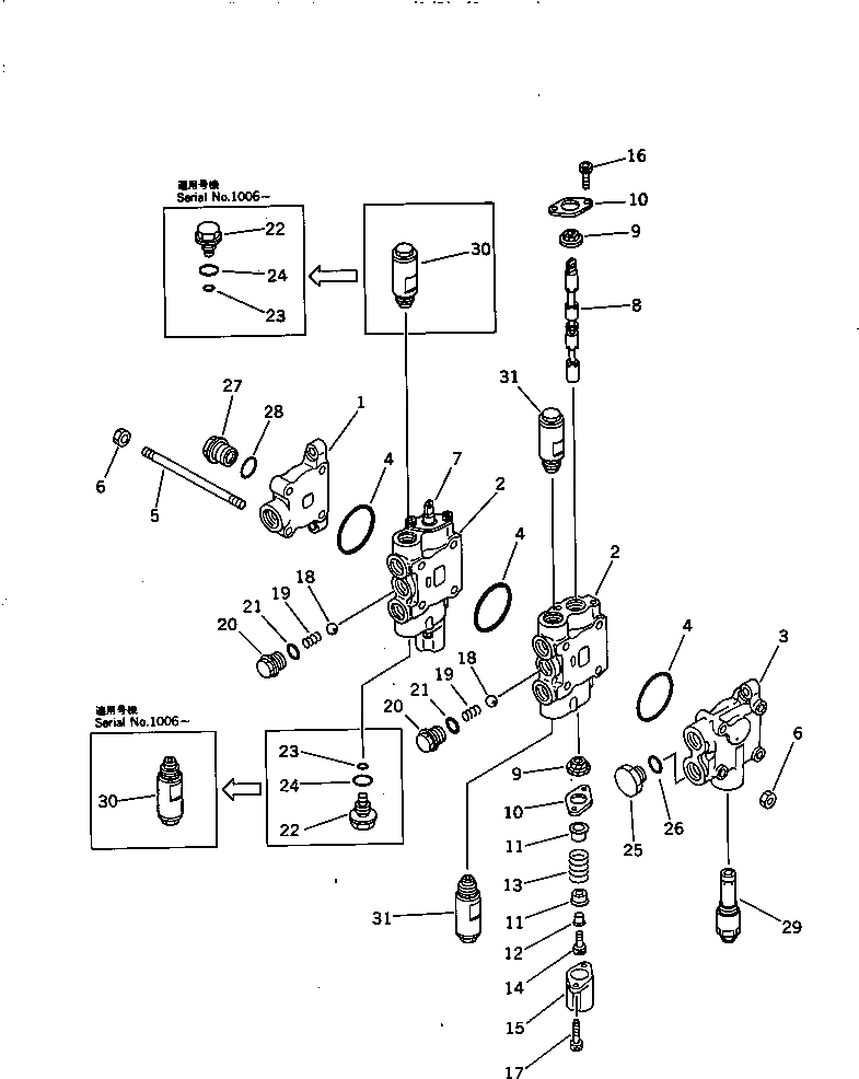
Запчасти Komatsu PC28UU-1 ГИДРАВЛ УПРАВЛЯЮЩ. КЛАПАН (/) (2-Х СЕКЦИОНН.)(№-) УПРАВЛ-Е РАБОЧИМ ОБОРУДОВАНИЕМ

Схема запчастей Komatsu PC28UU-1 - ГИДРАВЛ УПРАВЛЯЮЩ. КЛАПАН (/) (2-Х СЕКЦИОНН.)(№-) УПРАВЛ-Е РАБОЧИМ ОБОРУДОВАНИЕМ
FIT
1:1
100%

Артикул

Название

Примечание

Количество

|1

709-32-12202

VALVE ASS'Y

|1

709-32-12201

VALVE ASS'Y

|1

709-32-12200

VALVE ASS'Y

1

COVER

2

BLOCK

3

BLOCK

4

07000-12055

O-RING

5

709-32-11510

STUD

6

01580-10806

NUT

7

SPOOL,BLADE

8

SPOOL,SWING

9

709-32-11530

SEAL

10

709-32-11540

PLATE

11

709-32-11550

RETAINER

12

709-32-11560

COLLAR

13

709-32-11580

SPRING

|13

709-32-11590

SPRING

14

01252-30620

BOLT

15

709-32-11570

COVER

16

01252-30610

BOLT

17

01252-30616

BOLT

18

04260-01270

BALL

19

709-32-11820

SPRING

20

709-32-11810

PLUG

21

07002-11823

O-RING

22

709-32-11830

PLUG

23

709-32-11840

O-RING

24

07002-02034

O-RING

25

07040-12012

PLUG

26

07002-02034

O-RING

27

700-22-11370

PLUG

28

07002-02434

O-RING

29

700-22-51001

VALVE ASS'Y,RELIEF

30

709-30-62301

VALVE ASS'Y,SUCTION AND SAFETY

|30

709-30-62300

VALVE ASS'Y,SUCTION AND SAFETY

31

709-30-63501

VALVE ASS'Y,SUCTION AND SAFETY

|31

709-30-63500

VALVE ASS'Y,SUCTION AND SAFETY

Выбрано товаров: 37