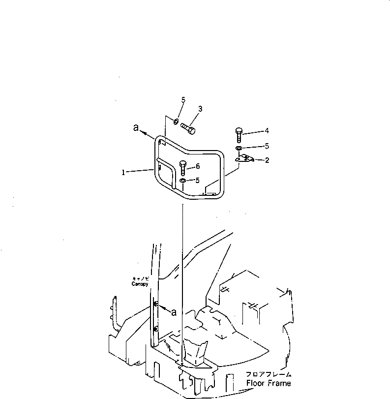
Запчасти Komatsu PC28UU-2 HANDRAIL КАБИНА ОПЕРАТОРА И СИСТЕМА УПРАВЛЕНИЯ

Схема запчастей Komatsu PC28UU-2 - HANDRAIL КАБИНА ОПЕРАТОРА И СИСТЕМА УПРАВЛЕНИЯ
FIT
1:1
100%

Артикул

Название

Примечание

Количество

1

21U-54-21450

STAY

2

21U-54-21440

PLATE

3

01010-51020

BOLT

4

01010-51025

BOLT

5

01643-31032

WASHER

6

01010-51030

BOLT

Выбрано товаров: 6