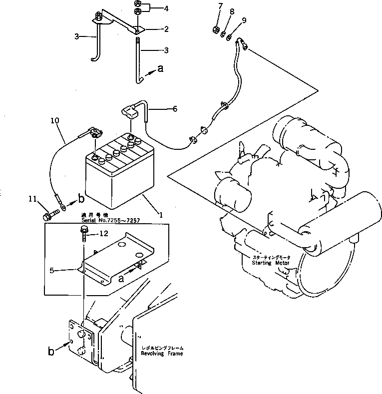
Запчасти Komatsu PC28UU-2 АККУМУЛЯТОР ЭЛЕКТРИКА

Схема запчастей Komatsu PC28UU-2 - АККУМУЛЯТОР ЭЛЕКТРИКА
FIT
1:1
100%

Артикул

Название

Примечание

Количество

1

08000-02207

BATTERY (65D31R)

2

201-06-31210

BRACKET

3

FF7810-06210

ROD

4

01580-10806

NUT

5

21U-06-21330

BRACKET

6

21U-06-21310

CABLE

7

01580-10806

NUT

8

01602-20825

WASHER,SPRING

9

01640-20816

WASHER

10

21U-06-21320

CABLE

11

01435-01020

BOLT

12

01435-01020

BOLT

Выбрано товаров: 12