Качественные детали и логистика
Оригинальные и аналоговые запчасти с доставкой по России, Казахстану и Беларуси
©2022 PartSell ООО "Система" ИНН 2463123282 ОГРН 1212400004838
Центральный офис: г. Красноярск, Академика Киренского, д.87, пом.4
Телефон: 8 (800) 777-65-74 Email: zakaz@partsell.ru
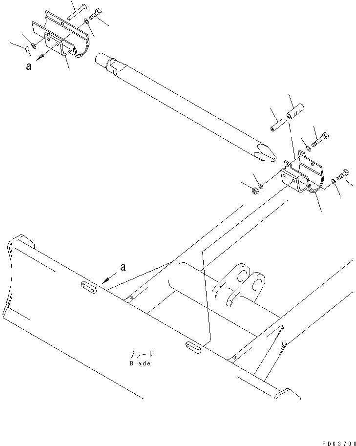
ГИДРОМОЛОТ (CHISEL ЭЛЕМЕНТЫ КРЕПЛЕНИЯ)
№
Артикул
Название
Примечание
Количество
1
21U-970-2450
BRACKET
2
21U-970-2460
3
01010-51225
BOLT
4
01643-31232
WASHER
5
20R-970-7250
TUBE
6
6164-91-6120
HOSE
7
01011-51205
8
9
01580-11218
NUT
10
21U-970-2480
PIN
11
01643-31645
12
04052-11664
PIN,SNAP
Выбрано товаров: 0