Запчасти Komatsu PC28UU-2 ТОПЛ. БАК И ТОПЛИВОПРОВОД ТОПЛИВН. БАК. AND КОМПОНЕНТЫ

Схема запчастей Komatsu PC28UU-2 - ТОПЛ. БАК И ТОПЛИВОПРОВОД ТОПЛИВН. БАК. AND КОМПОНЕНТЫ
FIT
1:1
100%

Артикул

Название

Примечание

Количество

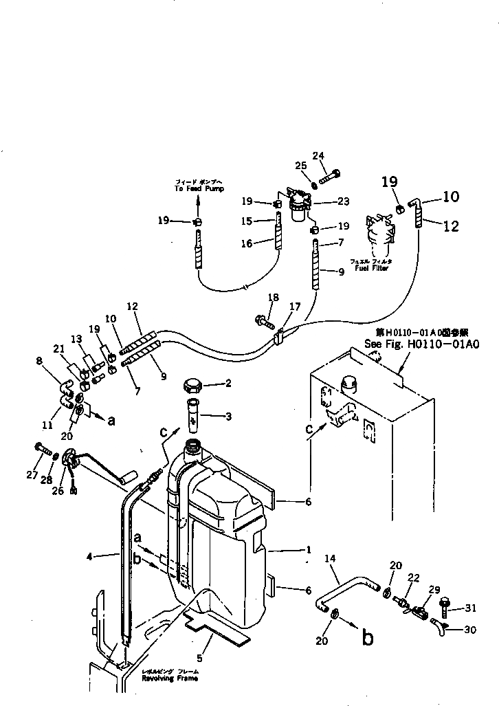
1

21U-04-21111

TANK

2

21U-04-21130

CAP ASS'Y

3

07056-10045

STRAINER

4

21U-04-21170

BAND

5

21U-04-21180

CUSHION

6

21U-04-21190

CUSHION

7

20P-04-71220

HOSE

8

21U-04-21211

HOSE

9

08017-31312

CONDUIT

10

21U-04-21270

HOSE

10

21U-04-21221

HOSE

11

21U-04-21211

HOSE

12

08017-31314

CONDUIT

13

21U-04-21250

JOINT

14

21U-04-21230

HOSE

15

20P-04-71230

HOSE

15

FF7830-04150

HOSE

16

08017-31304

CONDUIT

17

08036-01814

CLIP

18

01435-01020

BOLT

19

07285-00115

CLIP

20

07281-00229

CLAMP

21

07285-00180

CLIP

22

20T-04-81440

NIPPLE

23

YM129335-55700

WATER SEPARATOR A.

24

01010-50865

BOLT

25

01643-30823

WASHER

26

20N-06-71241

FLOAT

27

01220-70510

SCREW

28

01641-40508

WASHER

29

07700-40240

VALVE

30

21U-04-21260

TUBE

31

01435-01020

BOLT

Выбрано товаров: 33