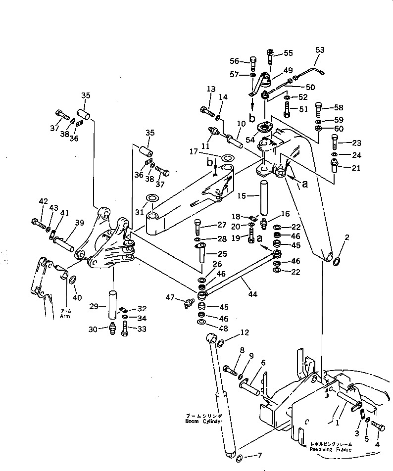
Запчасти Komatsu PC28UU-2 СТРЕЛА (/) (ПАЛЕЦ И ROD) РАБОЧЕЕ ОБОРУДОВАНИЕ

Схема запчастей Komatsu PC28UU-2 - СТРЕЛА (/) (ПАЛЕЦ И ROD) РАБОЧЕЕ ОБОРУДОВАНИЕ
FIT
1:1
100%

Артикул

Название

Примечание

Количество

1

21U-70-21140

PIN

2

21U-70-21170

SPACER, 1.0MM

3

20R-70-11250

PLATE

4

01010-51225

BOLT

5

01643-31232

WASHER

6

21U-70-21130

PIN

7

21U-70-11740

SPACER, 1.0MM

8

01010-51225

BOLT

9

01643-31232

WASHER

10

21U-70-21120

PIN

11

07020-00000

FITTING,GREASE

12

21U-70-11740

SPACER, 1.0MM

13

01010-51225

BOLT

14

01643-31232

WASHER

15

21U-70-21150

PIN

16

07020-00000

FITTING,GREASE

17

21U-70-21160

SPACER

18

04082-00212

LOCK

19

01010-51225

BOLT

20

01643-31232

WASHER

21

21U-70-21521

PIN

22

20N-70-41270

SPACER, 1.0MM

23

01010-51225

BOLT

24

01643-31232

WASHER

25

21U-70-21351

PIN

26

20N-70-41270

SPACER, 1.0MM

27

01010-51225

BOLT

28

01643-31232

WASHER

29

21U-70-21340

PIN

30

07020-00000

FITTING,GREASE

31

21U-70-21160

SPACER

32

04082-00212

LOCK

33

01010-51225

BOLT

34

01643-31232

WASHER

35

21U-70-21330

PIN

36

04082-00212

LOCK

37

01010-51225

BOLT

38

01643-31232

WASHER

39

21U-70-21360

PIN

40

21U-70-11740

SPACER, 1.0MM

41

20R-70-11250

PLATE

42

01010-51225

BOLT

43

01643-31232

WASHER

|$43

21U-70-21500

ROD ASS'Y

44

ROD

45

07144-10304

BUSHING

46

07145-00035

SEAL,DUST

47

07020-00675

FITTING,GREASE

48

20N-70-41270

SPACER, 1.0MM

49

21U-70-21300

SENSOR ASS'Y

50

7861-92-4180

POTENTIOMETER

51

01010-A0620

BOLT

52

01643-30623

WASHER

53

21U-06-21530

WIRING HARNESS

54

21U-70-21450

PLATE

55

21U-70-21960

BOLT

56

21K-54-26370

BOLT

57

01643-31032

WASHER

58

01010-A1030

BOLT

59

01643-31032

WASHER

60

21U-70-21470

SPACER

Выбрано товаров: 61