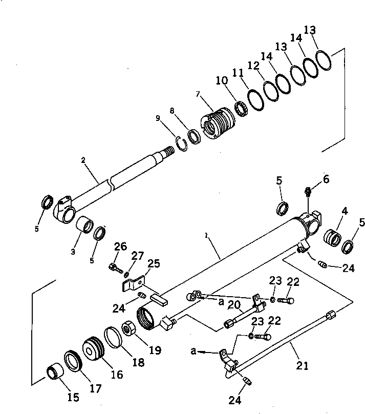
Запчасти Komatsu PC28UU-2 ЦИЛИНДР СТРЕЛЫ(ВНУТР. ЧАСТИ)(№8-) ОСНОВН. КОМПОНЕНТЫ И РЕМКОМПЛЕКТЫ

Схема запчастей Komatsu PC28UU-2 - ЦИЛИНДР СТРЕЛЫ(ВНУТР. ЧАСТИ)(№8-) ОСНОВН. КОМПОНЕНТЫ И РЕМКОМПЛЕКТЫ
FIT
1:1
100%

Артикул

Название

Примечание

Количество

G-1

21U-63-X2111

CYLINDER GROUP,BOOM (UU)

|$2

21U-63-02111

CYLINDER ASS'Y,BOOM (UU)

1

21U-63-56242

CYLINDER,BOOM

2

21U-63-56220

ROD

3

07143-10404

BUSHING

4

07144-10404

BUSHING

5

07145-00040

SEAL,DUST (KIT)

6

07020-00900

FITTING,GREASE

7

707-29-80070

HEAD,CYLINDER

8

112-63-15370

SEAL,DUST (KIT)

9

07179-12057

RING,SNAP

10

707-51-45210

PACKING,ROD (KIT)

11

07000-02080

O-RING (KIT)

12

707-35-52750

RING,BACK-UP (KIT)

13

07146-02076

RING,BACK-UP (KIT)

14

07000-12075

O-RING (KIT)

15

707-71-60390

PLUNGER

16

707-36-80070

PISTON

17

707-44-80180

RING,PISTON (KIT)

18

07156-00810

RING,WEAR (KIT)

19

01580-02722

NUT

20

21U-63-56271

TUBE

21

21U-63-56281

TUBE

22

01010-51020

BOLT

23

01643-31032

WASHER

24

07042-20108

PLUG

25

707-88-10280

PLATE

26

01010-51020

BOLT

27

01643-31032

WASHER

Выбрано товаров: 29