Запчасти Komatsu PC28UU-2 P.P.C. ЛИНИЯ (/) ГИДРАВЛИКА

Схема запчастей Komatsu PC28UU-2 - P.P.C. ЛИНИЯ (/) ГИДРАВЛИКА
FIT
1:1
100%

Артикул

Название

Примечание

Количество

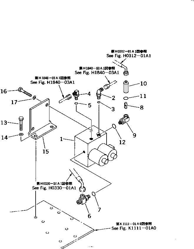
1

20U-60-22230

SOLENOID VALVE ASS'Y,(SEE FIG.Y1681-01A1)

2

07235-10210

ELBOW

3

07002-01423

O-RING

4

21U-62-24110

ELBOW

5

07002-11423

O-RING

6

21U-62-24120

TEE

7

07002-11423

O-RING

8

20T-62-71910

STRAINER

9

20C-62-24130

ELBOW

10

20T-62-71930

UNION

11

07002-01823

O-RING

12

07002-01423

O-RING

13

01010-51025

BOLT

14

01643-31032

WASHER

15

21U-62-26210

PLATE

16

01010-51020

BOLT

17

01643-31032

WASHER

Выбрано товаров: 0