Запчасти Komatsu PC28UU-2 ОСНОВНАЯ РАМА (/) ОСНОВНАЯ РАМА И ЕЕ ЧАСТИ

Схема запчастей Komatsu PC28UU-2 - ОСНОВНАЯ РАМА (/) ОСНОВНАЯ РАМА И ЕЕ ЧАСТИ
FIT
1:1
100%

Артикул

Название

Примечание

Количество

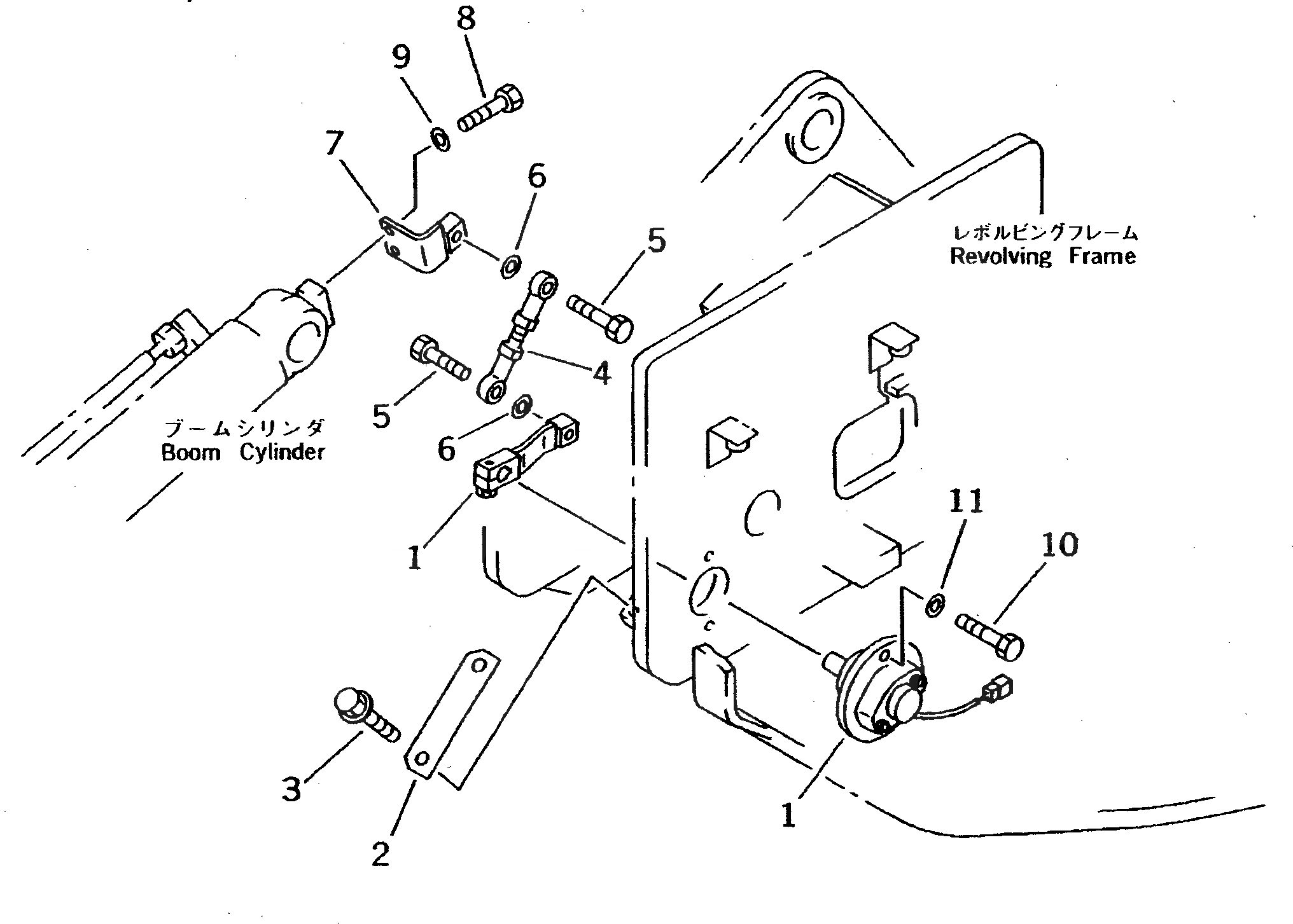
1

21U-70-21401

SENSOR ASS'Y,BOOM

1

21U-70-21400

SENSOR ASS'Y,BOOM

1

7861-92-4180

POTENTIOMETER NOT SHOWN

2

21U-46-21120

PLATE

3

01435-01020

BOLT

4

21U-70-21940

ROD ASS'Y

5

01010-A1030

BOLT

6

01643-31032

WASHER

7

21U-70-21431

LEVER

8

01010-A1020

BOLT

9

01643-31032

WASHER

10

01010-A1030

BOLT

11

01643-31032

WASHER

Выбрано товаров: 13