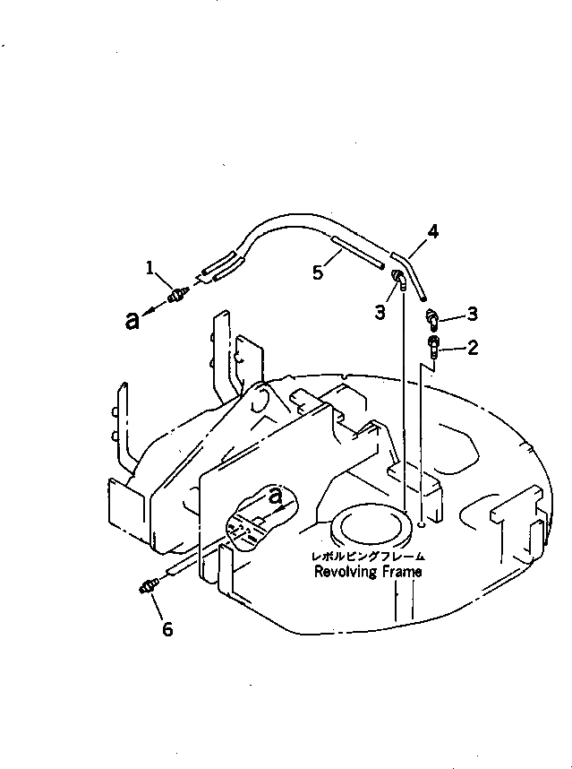
Запчасти Komatsu PC28UU-2 СИСТЕМА СМАЗКИ(№8-) ОСНОВНАЯ РАМА И ЕЕ ЧАСТИ

Схема запчастей Komatsu PC28UU-2 - СИСТЕМА СМАЗКИ(№8-) ОСНОВНАЯ РАМА И ЕЕ ЧАСТИ
FIT
1:1
100%

Артикул

Название

Примечание

Количество

1

21R-46-11411

NIPPLE

2

20P-46-71320

ADAPTER

3

21R-46-11421

ELBOW

4

21U-46-21650

TUBE

5

21U-46-21640

TUBE

6

07020-00000

FITTING,GREASE

Выбрано товаров: 0