Качественные детали и логистика
Оригинальные и аналоговые запчасти с доставкой по России, Казахстану и Беларуси
©2022 PartSell ООО "Система" ИНН 2463123282 ОГРН 1212400004838
Центральный офис: г. Красноярск, Академика Киренского, д.87, пом.4
Телефон: 8 (800) 777-65-74 Email: zakaz@partsell.ru
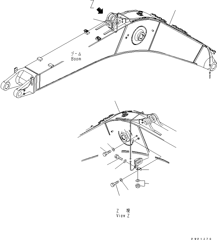
ДОПОЛН. РАБОЧ. ОСВЕЩЕНИЕ (СТРЕЛА ПРАВ.)
№
Артикул
Название
Примечание
Количество
1
207-06-K1520
WORK LAMP ASS'Y
2
20Y-06-21551
BRACKET
3
01010-81430
BOLT
4
01643-31445
WASHER
5
04434-51012
CLIP
6
01010-81220
7
01643-31232
8
01010-81230
9
10
207-06-K2430
WIRING HARNESS
Выбрано товаров: 0