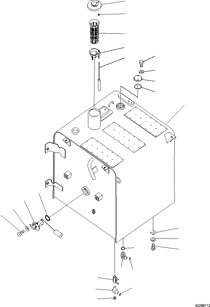
Запчасти Komatsu PC290LC-8K ТОПЛИВН. БАК., ДЛЯ MACHINE С REFILL НАСОС (№K7-K99) D ТОПЛИВН. БАК. AND КОМПОНЕНТЫ

Схема запчастей Komatsu PC290LC-8K - ТОПЛИВН. БАК., ДЛЯ MACHINE С REFILL НАСОС (№K7-K99) D ТОПЛИВН. БАК. AND КОМПОНЕНТЫ
6
12
14
11
13
23
24
21
22
1
9
10
7
8
20
19
18
16
15
17
5
2
3
4
FIT
1:1
100%

Артикул

Название

Примечание

Количество

1

206-04-K1041

Tank

2

07700-50240

Valve, Fuel Drain

3

20Y-04-41231

Elbow

4

07043-A0108

Plug

5

02896-11009

O-Ring

6

20Y-04-11160

Cap

7

7861-92-5810

Sensor

8

07000-13050

O-Ring

9

01010-80612

Bolt

10

01643-30623

Washer

|11

22U-04-21241

Strainer Assembly

|11

22U-04-21200

Float Assembly

11

22U-04-21210

Guide

12

20Y-04-21580

Cap

13

22U-04-21220

Float

14

07056-18425

Strainer

15

02782-10315

Elbow

16

07002-12034

O-Ring

17

02896-11009

O-Ring

18

01010-81635

Bolt

19

01643-31645

Washer

20

195-03-11570

Shim

21

20Y-04-K3071

Plate

22

07000-13032

O-Ring

23

01010-80620

Bolt

24

01643-30623

Washer

Выбрано товаров: 26