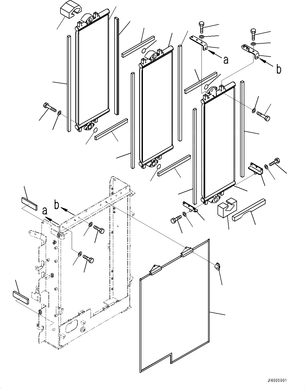
Запчасти Komatsu PC290NLC-10 СИСТЕМА ОХЛАЖДЕНИЯ, МАСЛООХЛАДИТЕЛЬ СИСТЕМА ОХЛАЖДЕНИЯ

Схема запчастей Komatsu PC290NLC-10 - СИСТЕМА ОХЛАЖДЕНИЯ, МАСЛООХЛАДИТЕЛЬ СИСТЕМА ОХЛАЖДЕНИЯ
1
1
5
3
15
15
4
2
6
7
7
7
7
11
8
9
16
15
16
10
16
10
16
15
12
12
12
12
12
13
17
14
17
14
18
18
18
18
20
19
19
20
22
21
FIT
1:1
100%

Артикул

Название

Примечание

Количество

1

206-03-31360

Sheet

2

206-03-31490

Sheet

3

206-03-31510

Bracket

4

206-03-35122

Oil Cooler

5

206-03-35132

Oil Cooler

6

206-03-35152

Oil Cooler

7

206-03-35360

Sheet

8

206-03-35370

Sheet

9

20Y-03-41711

Bracket

10

20Y-03-41721

Bracket

11

2A5-03-11440

Sheet

12

2A5-03-11460

Sheet

13

2A5-03-11471

Sheet

14

01011-81205

Bolt

15

01010-81025

Bolt

16

01643-31032

Washer

17

01643-31232

Washer

18

07000-13045

O-Ring

19

01010-81030

Bolt

20

01643-31032

Washer

21

206-03-35191

Net

22

21K-03-72780

Nut

Выбрано товаров: 22