Запчасти Komatsu PC290NLC-10 СИСТЕМА ОХЛАЖДЕНИЯ, SUB-БАК СИСТЕМА ОХЛАЖДЕНИЯ

Схема запчастей Komatsu PC290NLC-10 - СИСТЕМА ОХЛАЖДЕНИЯ, SUB-БАК СИСТЕМА ОХЛАЖДЕНИЯ
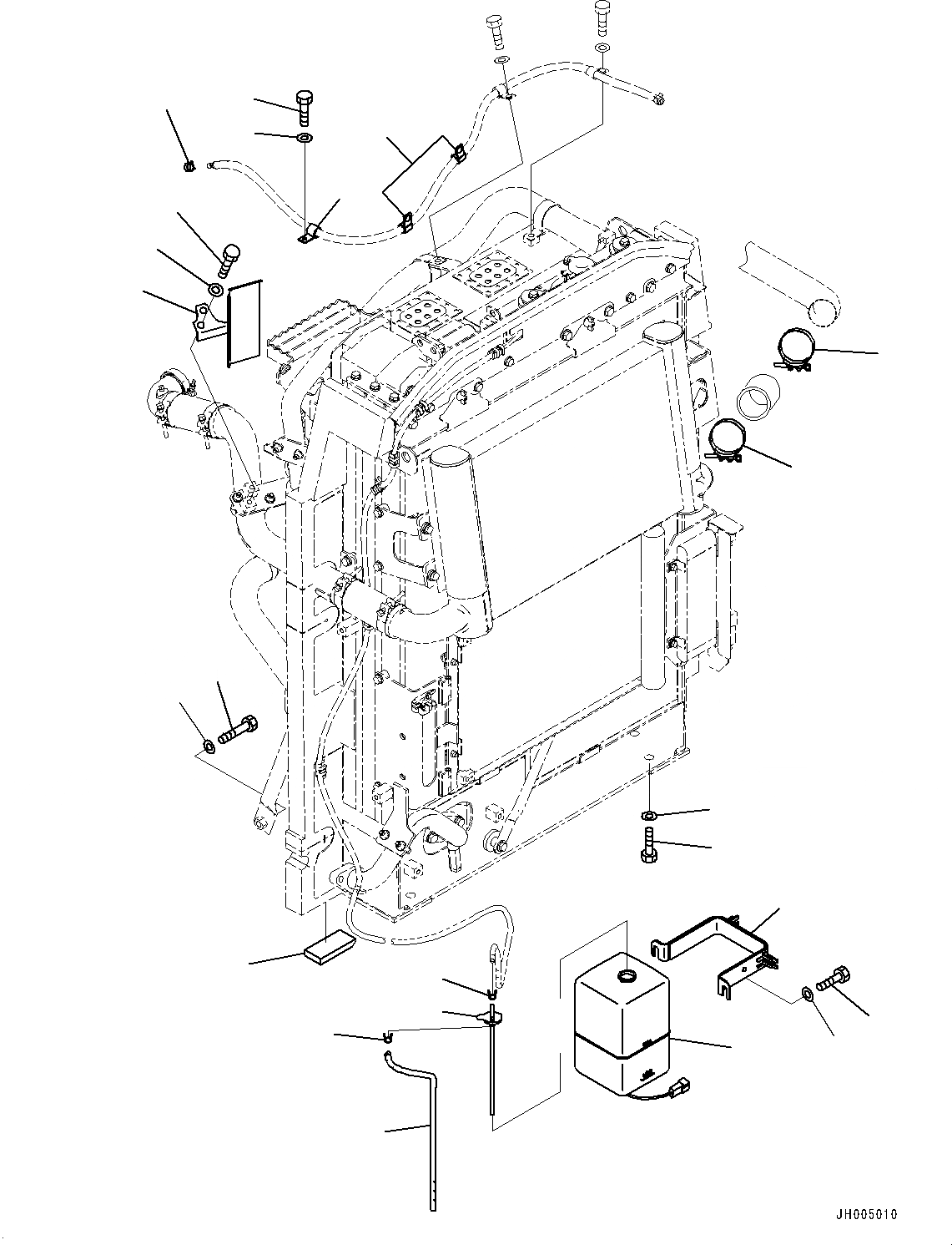
1
2
3
4
5
6
7
8
9
10
11
12
13
14
15
16
17
18
19
20
21
8
10
FIT
1:1
100%

Артикул

Название

Примечание

Количество

1

01010-81640

Bolt

2

01643-31645

Washer

3

01010-81655

Bolt

4

01643-31645

Washer

5

2A5-03-11811

Cover

6

01010-81230

Bolt

7

01643-31232

Washer

8

21T-62-69711

Clamp, Hose

9

11Y-09-11140

Clip

10

04434-51612

Clip

11

01010-81230

Bolt

12

01643-31232

Washer

13

2A5-03-11910

Sheet

14

206-03-43340

Clip

15

419-03-21320

Tank, Reservoir

16

421-03-22170

Cap

17

2A5-54-13491

Bracket

18

01010-81220

Bolt

19

01643-31232

Washer

20

2A5-03-12140

Hose

21

206-03-43340

Clip

Выбрано товаров: 21