Запчасти Komatsu PC290NLC-6K ПРАВ. КОРПУС(№K-) ЧАСТИ КОРПУСА

Схема запчастей Komatsu PC290NLC-6K - ПРАВ. КОРПУС(№K-) ЧАСТИ КОРПУСА
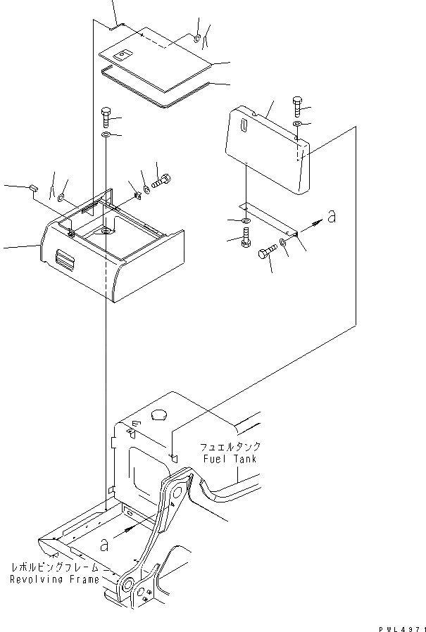
1
2
3
3
4
5
6
6
7
8
8
9
10
11
12
12
13
13
14
15
16
17
FIT
1:1
100%

Артикул

Название

Примечание

Количество

1

20Y-54-KA120

COVER

2

20Y-54-34670

BRACKET

3

20Y-54-K9470

CASE ASS'Y

4

20Y-54-K7650

SEAL

5

01010-81230

BOLT

6

01643-30623

WASHER

7

01643-31232

WASHER

8

04050-11612

PIN,COTTER

9

20Y-54-29680

SHEET

10

20Y-54-K7641

PLATE

11

203-54-56630

ROD

12

01010-81230

BOLT

13

01643-31232

WASHER

14

01010-81230

BOLT

15

01643-31232

WASHER

16

175-54-34170

WASHER

17

01010-81230

BOLT

Выбрано товаров: 17