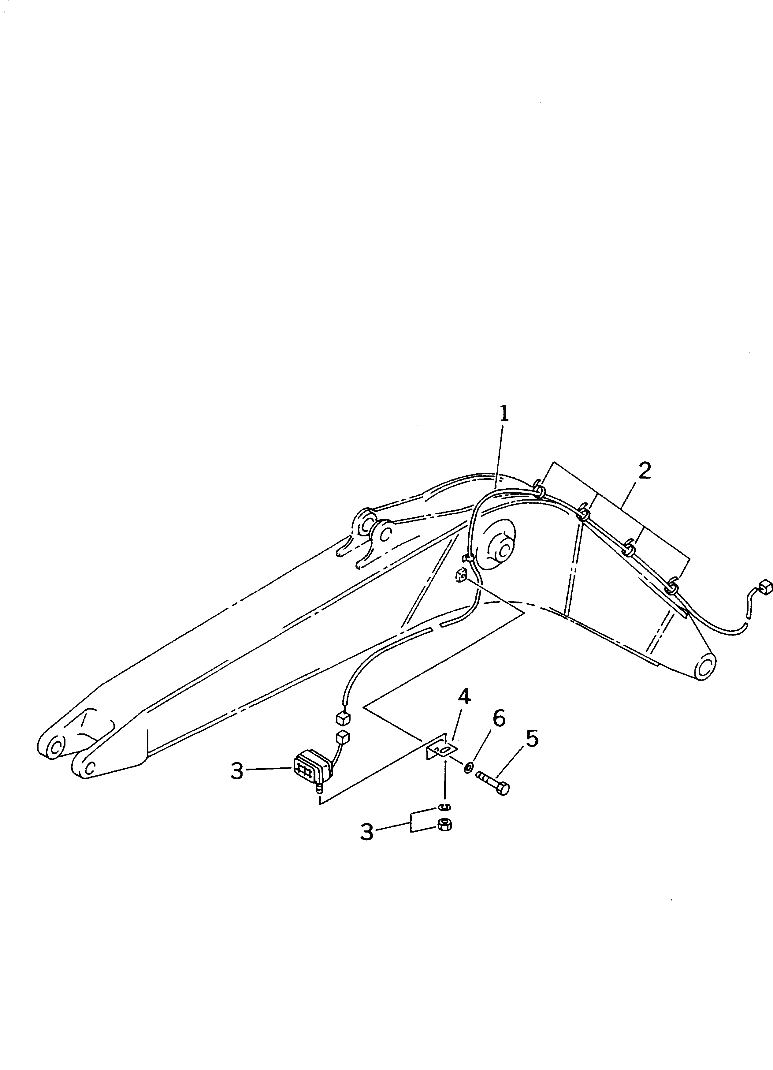
Запчасти Komatsu PC290NLC-6K РАБОЧ. ОСВЕЩЕНИЕ (СТРЕЛА) ЭЛЕКТРИКА

Схема запчастей Komatsu PC290NLC-6K - РАБОЧ. ОСВЕЩЕНИЕ (СТРЕЛА) ЭЛЕКТРИКА
FIT
1:1
100%

Артикул

Название

Примечание

Количество

1

20Y-06-28950

HARNESS

2

08034-00414

BAND

3

20Y-06-K2680

WORK LAMP ASS'Y

|3

205-06-K1223

WORK LAMP ASS'Y

|3

205-06-K1890

BULB¤ 70W

4

203-06-21290

PLATE

5

01010-81230

BOLT

6

01643-31232

WASHER

Выбрано товаров: 8