Запчасти Komatsu PC30-1 INISTRUMENT ПАНЕЛЬ КОМПОНЕНТЫ ДВИГАТЕЛЯ И ЭЛЕКТРИКА

Схема запчастей Komatsu PC30-1 - INISTRUMENT ПАНЕЛЬ КОМПОНЕНТЫ ДВИГАТЕЛЯ И ЭЛЕКТРИКА
FIT
1:1
100%

Артикул

Название

Примечание

Количество

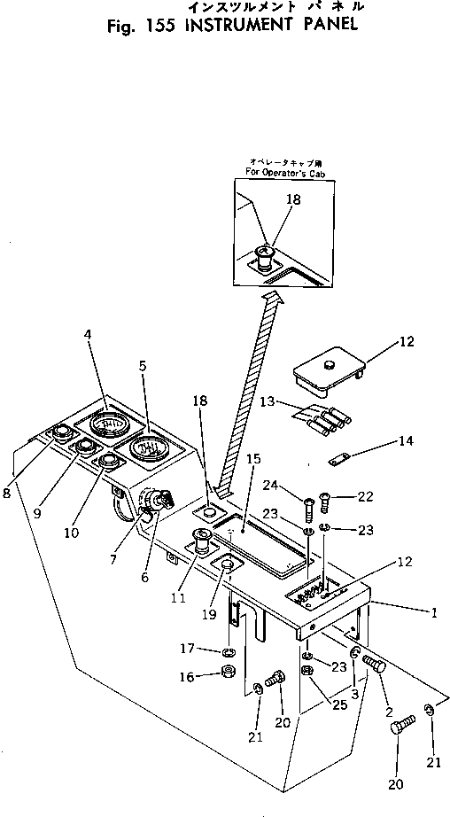
1

20S-06-12112

PANEL

|1

20S-06-12111

PANEL

2

01010-30816

BOLT

3

01602-00825

WASHER,SPRING

4

130-06-B1171

GAUGE,WATER TEMPERATURE

5

08687-21200

METER,SERVICE

6

201-06-21510

SWITCH,STARTING

7

205-26-91140

SPACER

8

08147-21200

LAMP,BATTERY CHARGE

|8

08111-01230

BULB¤ 4W

9

08147-21200

LAMP,OIL CAUTION

|9

08111-01230

BULB¤ 4W

10

08147-21201

LAMP,ENGINE THERMOSTART

|10

08111-01230

BULB¤ 4W

11

08061-30010

SWITCH,LAMP

12

20R-06-22210

BOX,FUSE

13

08040-02000

FUSE¤ 20A

14

150-06-14290

TERMINAL

15

20S-06-12120

COVER

16

01580-10806

NUT

17

01602-00825

WASHER,SPRING

18

130-911-1640

PLUG,(FOR CANOPY)

|18

08183-00000

SWITCH,WIPER (FOR CAB)

19

130-911-1640

PLUG

20

01010-30610

BOLT

21

01602-00619

WASHER,SPRING

22

01220-40520

SCREW

23

01601-00513

WASHER,SPRING

24

01220-40525

SCREW

25

01580-10504

NUT

Выбрано товаров: 30