Запчасти Komatsu PC30-1 НАВЕС ОСНОВНАЯ РАМА И КАБИНА
FIT
1:1
100%
№
Артикул
Название
Примечание
Количество
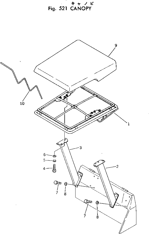
1
20R-54-22111
ROOF
2
20S-54-13120
POLE,L.H.
3
20S-54-13130
POLE,R.H.
4
01010-31025
BOLT
5
01602-01030
WASHER,SPRING
6
01643-31032
WASHER
7
01010-31025
BOLT
8
01602-01030
WASHER,SPRING
9
20R-54-22120
SHEET
10
20R-54-22130
ROPE
Выбрано товаров: 0