Качественные детали и логистика
Оригинальные и аналоговые запчасти с доставкой по России, Казахстану и Беларуси
©2022 PartSell ООО "Система" ИНН 2463123282 ОГРН 1212400004838
Центральный офис: г. Красноярск, Академика Киренского, д.87, пом.4
Телефон: 8 (800) 777-65-74 Email: zakaz@partsell.ru
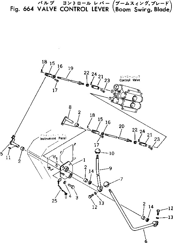
КЛАПАН РЫЧАГ УПРАВЛ-Я (СТРЕЛА¤ПОВОРОТН.¤ОТВАЛ)
№
Артикул
Название
Примечание
Количество
|1
20S-43-00110
BRACKET ASS'Y
1
BRACKET
2
09350-02020
BUSHING
3
01010-31025
BOLT
4
01602-01030
WASHER,SPRING
5
20S-43-12120
LEVER
6
20S-43-12131
7
20R-43-11280
KNOB
8
20S-43-12220
9
20S-43-12210
10
20R-43-11290
11
04010-00519
KEY
12
01010-30830
13
01602-00825
14
06122-02004
SEAL,BEARING
15
20S-43-12150
YOKE
16
01508-21006
NUT¤ L.H. THREAD,L.H. THREAD
17
04205-10822
PIN
18
04050-12012
PIN,COTTER
19
04248-31035
ROD
20
04248-31041
21
201-43-21370
22
01582-11008
NUT
23
04205-10622
24
04050-11610
25
20S-43-12160
LOCK
Выбрано товаров: 0