Запчасти Komatsu PC30-1 КОВШ И СОЕДИНИТЕЛЬН. ЗВЕНО РАБОЧЕЕ ОБОРУДОВАНИЕ

Схема запчастей Komatsu PC30-1 - КОВШ И СОЕДИНИТЕЛЬН. ЗВЕНО РАБОЧЕЕ ОБОРУДОВАНИЕ
FIT
1:1
100%

Артикул

Название

Примечание

Количество

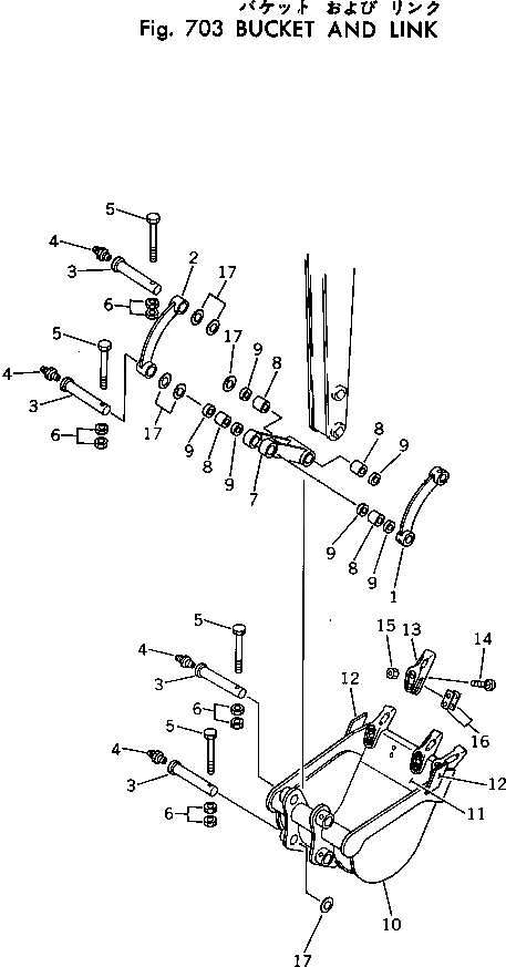
1

20S-70-11150

LINK,L.H.

2

20S-70-11160

LINK,R.H.

3

20R-70-11241

PIN

4

07020-00000

FITTING,GREASE

5

01010-31285

BOLT

6

01580-01210

NUT

|7

20S-70-00040

LINK ASS'Y

7

LINK

8

07143-10304

BUSHING

9

07145-00035

SEAL,DUST

10

20S-70-11250

BUCKET,530MM¤ 0.15M3

|10

20S-70-11130

BUCKET,530MM¤ 0.15M3

11

20S-70-11210

LIP (WELDED)

12

20T-70-13160

CUTTER (WELDED)

13

20T-70-13130

TOOTH

14

02090-11060

BOLT

15

02205-11015

NUT

16

20T-70-05010

SHIM ASS'Y

|16

SHIM¤ 0.5MM

|16

SHIM¤ 1.0MM

17

20R-70-11270

SPACER¤ 1.0MM

Выбрано товаров: 21