Запчасти Komatsu PC30-1 ОСНОВНАЯ РАМА ОСНОВНАЯ РАМА И КАБИНА

Схема запчастей Komatsu PC30-1 - ОСНОВНАЯ РАМА ОСНОВНАЯ РАМА И КАБИНА
FIT
1:1
100%

Артикул

Название

Примечание

Количество

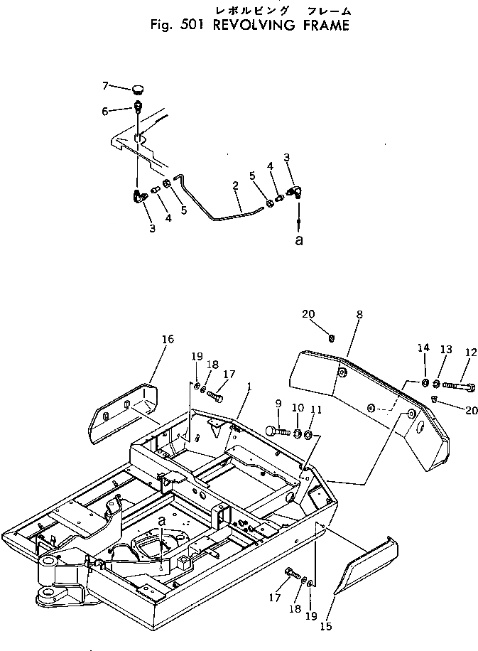
1

20S-46-11200

FRAME

1

20S-977-1220

FRAME,(FOR CAR HEATER)

2

20R-46-11210

TUBE

3

20R-46-11150

ELBOW

4

07831-00411

SLEEVE

5

07832-00410

NUT,SLEEVE

6

07020-00000

FITTING,GREASE

7

20X-46-11170

CAP

8

20S-46-12121

WEIGHT,COUNTER

9

01010-52040

BOLT

10

01602-22060

WASHER,SPRING

11

01643-32060

WASHER

12

01010-51270

BOLT

13

01602-21236

WASHER,SPRING

14

01643-31445

WASHER

15

20S-46-12131

BUMPER,L.H.

16

20S-46-12141

BUMPER,R.H.

17

01010-51025

BOLT

18

01602-01030

WASHER,SPRING

19

01643-31032

WASHER

20

07049-01620

PLUG

Выбрано товаров: 21