Запчасти Komatsu PC30-1 НАВЕС ОСНОВНАЯ РАМА И КАБИНА

Схема запчастей Komatsu PC30-1 - НАВЕС ОСНОВНАЯ РАМА И КАБИНА
FIT
1:1
100%

Артикул

Название

Примечание

Количество

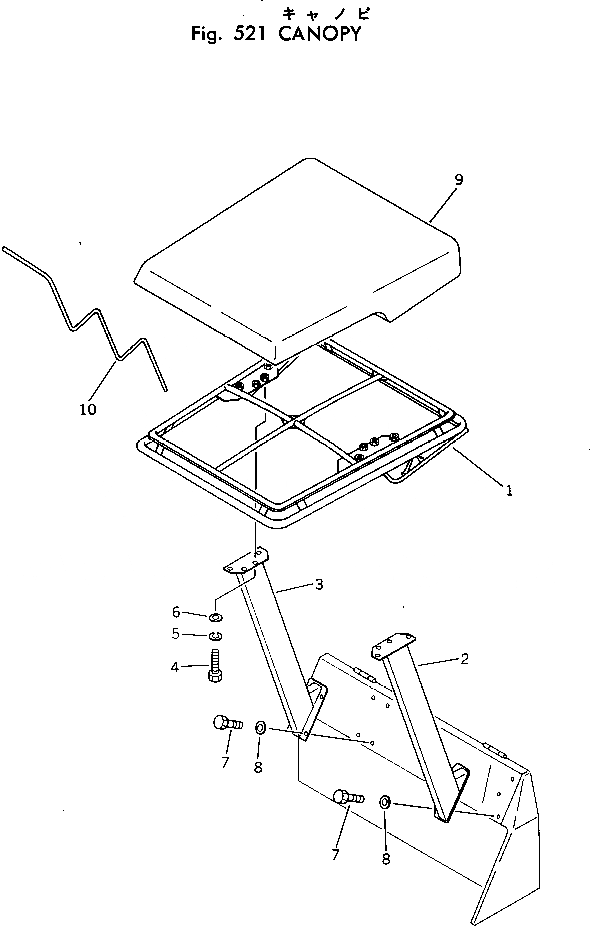
1

20R-54-22111

ROOF

2

20S-54-13120

POLE,L.H.

3

20S-54-13130

POLE,R.H.

4

01010-31025

BOLT

5

01602-01030

WASHER,SPRING

6

01643-31032

WASHER

7

01010-31025

BOLT

8

01602-01030

WASHER,SPRING

9

20R-54-22120

SHEET

10

20R-54-22130

ROPE

Выбрано товаров: 10