Запчасти Komatsu PC30-1 СИДЕНЬЕ ОПЕРАТОРА ОСНОВНАЯ РАМА И КАБИНА

Схема запчастей Komatsu PC30-1 - СИДЕНЬЕ ОПЕРАТОРА ОСНОВНАЯ РАМА И КАБИНА
FIT
1:1
100%

Артикул

Название

Примечание

Количество

|$0

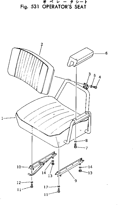
20S-57-00010

SEAT ASS'Y

1

20S-57-11110

SEAT,CUSHION

2

20R-57-21120

SEAT,BACK

3

20R-57-21130

BRACKET

4

01010-30612

BOLT

5

01602-00619

WASHER,SPRING

6

20S-57-11140

CUSHION,ARM

7

01010-30830

BOLT

8

01602-00825

WASHER,SPRING

9

20S-57-11120

ADJUSTER

10

20S-57-11130

ADJUSTER

11

01220-40820

SCREW

12

01602-00825

WASHER,SPRING

13

01580-00806

NUT

14

01602-00825

WASHER,SPRING

Выбрано товаров: 15