Запчасти Komatsu PC30-1 ЦИЛИНДР КОВША ГИДРАВЛИКА

Схема запчастей Komatsu PC30-1 - ЦИЛИНДР КОВША ГИДРАВЛИКА
FIT
1:1
100%

Артикул

Название

Примечание

Количество

|$0

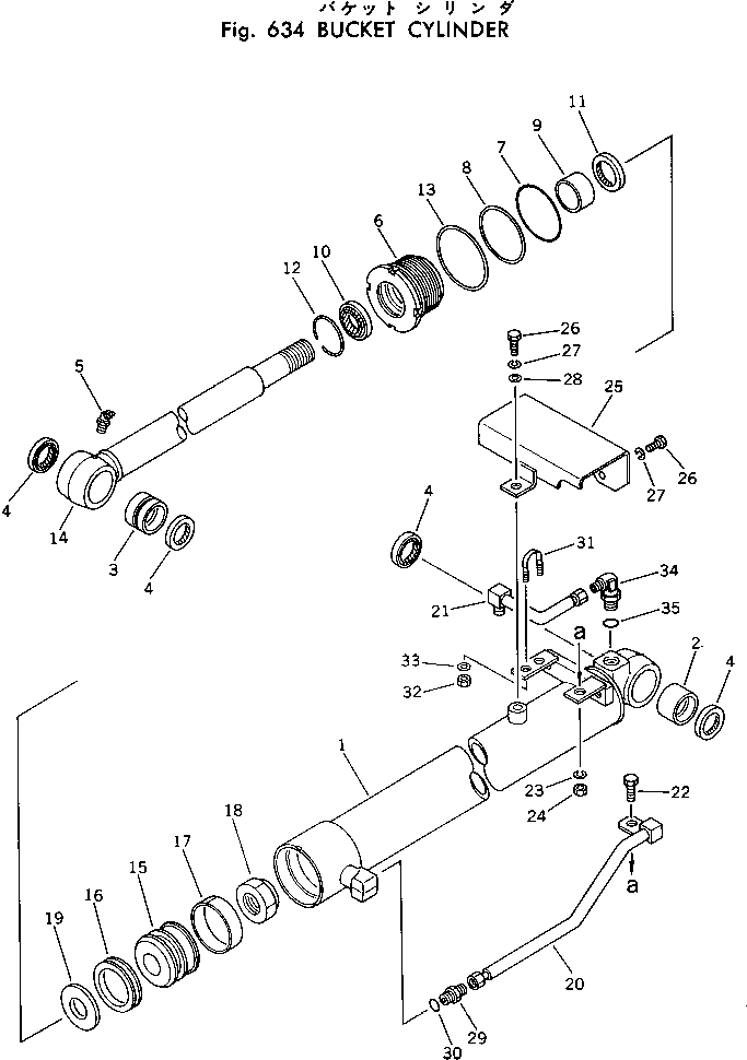
20S-63-76101

CYLINDER ASS'Y

1

20S-63-76140

CYLINDER

2

07143-10304

BUSHING

3

07144-10304

BUSHING

4

07145-00035

SEAL,DUST

5

07020-00675

FITTING,GREASE

6

707-29-70290

HEAD,CYLINDER

7

07000-12075

O-RING

8

07001-02075

RING,BACK-UP

9

07177-04025

BUSHING

10

198-63-75190

SEAL,DUST

11

707-51-40210

PACKING,ROD

12

07179-00059

RING,SNAP

13

707-45-70010

WASHER,LOCK

14

20S-63-76120

ROD,PISTON

15

707-36-70280

PISTON

16

707-44-70080

RING,PISTON

17

07155-00720

RING,WEAR

18

07165-13033

NUT,NYLON

19

707-40-70280

RETAINER

20

20S-61-11140

TUBE

21

20R-63-76180

TUBE

22

01010-51020

BOLT

23

01605-11023

WASHER

24

01580-11008

NUT

25

20N-63-76290

GUARD

26

01010-51020

BOLT

27

01602-21030

WASHER,SPRING

28

01643-31032

WASHER

29

07230-10315

UNION

30

07002-12034

O-RING

31

07283-21529

CLIP

32

01598-00809

NUT

33

01643-30823

WASHER

34

07235-10315

ELBOW

35

07002-12034

O-RING

Выбрано товаров: 36