Запчасти Komatsu PC30-1 ЦИЛИНДР ОТВАЛА ГИДРАВЛИКА

Схема запчастей Komatsu PC30-1 - ЦИЛИНДР ОТВАЛА ГИДРАВЛИКА
FIT
1:1
100%

Артикул

Название

Примечание

Количество

|$0

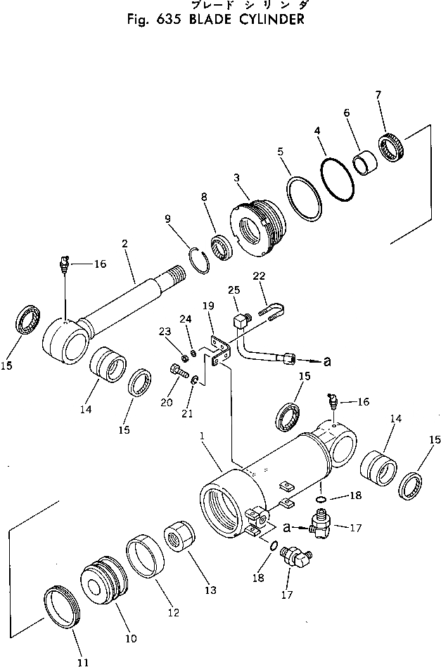
20S-63-96101

CYLINDER ASS'Y

1

20S-63-96140

CYLINDER

2

20S-63-96120

ROD,PISTON

3

707-29-10191

HEAD,CYLINDER

4

07000-12105

O-RING

5

101-63-81230

RING,BACK-UP

6

07177-05030

BUSHING

7

707-51-50211

PACKING,ROD

8

176-63-92240

SEAL,DUST

9

07179-00069

RING,SNAP

10

707-36-10180

PISTON

11

707-44-10080

RING,PISTON

12

07155-01025

RING,WEAR

13

07165-13638

NUT,NYLON

14

07144-10506

BUSHING

15

07145-00055

SEAL,DUST

16

07020-00675

FITTING,GREASE

17

114-62-23210

ELBOW

18

07002-12434

O-RING

19

20S-63-96190

PLATE

20

01010-51020

BOLT

21

01602-21032

WASHER,SPRING

22

07283-21529

CLIP

23

01598-00809

NUT

24

01643-30823

WASHER

25

20S-63-96180

TUBE

Выбрано товаров: 26