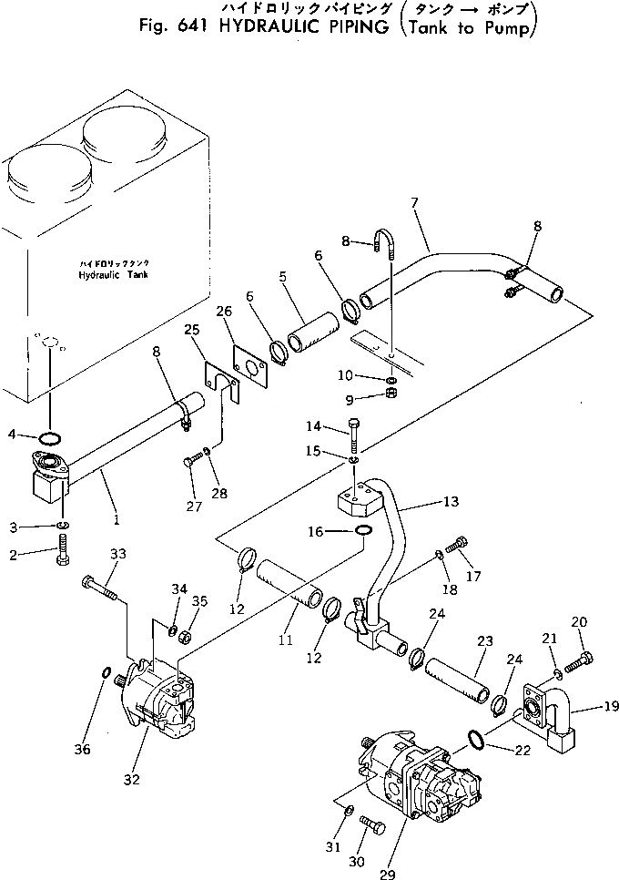
Запчасти Komatsu PC30-1 ГИДРОЛИНИЯ (ИЗ БАКА В НАСОС) ГИДРАВЛИКА

Схема запчастей Komatsu PC30-1 - ГИДРОЛИНИЯ (ИЗ БАКА В НАСОС) ГИДРАВЛИКА
FIT
1:1
100%

Артикул

Название

Примечание

Количество

1

20S-62-11210

TUBE

2

01010-31235

BOLT

3

01602-01236

WASHER,SPRING

4

07000-03045

O-RING

5

07260-24113

HOSE

6

07281-00609

CLAMP

7

20S-62-11220

TUBE

8

07283-24346

CLIP

9

01599-01011

NUT

10

01643-31032

WASHER

11

07260-24118

HOSE

12

07281-00609

CLAMP

13

20S-62-11231

TUBE

14

01010-31050

BOLT

15

01602-01030

WASHER,SPRING

16

07000-03032

O-RING

17

01010-31025

BOLT

18

01602-01030

WASHER,SPRING

19

20S-62-11260

TUBE

20

01010-31235

BOLT

21

01602-01236

WASHER,SPRING

22

07000-03048

O-RING

23

07260-23218

HOSE

24

07281-00489

CLAMP

25

20S-62-11360

PLATE

26

20S-62-11370

SHEET

27

01010-30820

BOLT

28

01602-00825

WASHER,SPRING

29

705-52-10070

TANDEM PUMP ASS'Y

30

01010-31030

BOLT

31

01643-31032

WASHER

32

705-22-21000

PUMP ASS'Y

33

01010-31040

BOLT

34

01643-31032

WASHER

35

01580-01008

NUT

36

07000-02085

O-RING

Выбрано товаров: 36