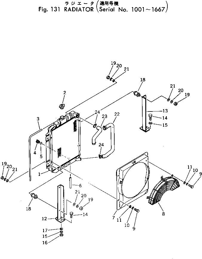
Запчасти Komatsu PC30-1 РАДИАТОР(№-7) КОМПОНЕНТЫ ДВИГАТЕЛЯ И ЭЛЕКТРИКА

Схема запчастей Komatsu PC30-1 - РАДИАТОР(№-7) КОМПОНЕНТЫ ДВИГАТЕЛЯ И ЭЛЕКТРИКА
FIT
1:1
100%

Артикул

Название

Примечание

Количество

|$0

20S-03-11201

RADIATOR ASS'Y

1

20S-03-11211

CORE ASS'Y

2

20R-03-11220

CAP

3

07270-00875

TUBE

4

20N-03-11181

PLUG

5

07000-01007

O-RING

6

07270-00820

TUBE

7

20S-03-11222

SHROUD

8

20S-03-11242

NET,WIRE

9

01010-30820

BOLT

10

01602-00825

WASHER,SPRING

11

01643-30823

WASHER

12

20S-03-11310

BRACKET,L.H.

13

20S-03-11320

BRACKET,R.H.

14

01010-31025

BOLT

15

01602-01030

WASHER,SPRING

16

01580-11008

NUT

17

01643-31032

WASHER

18

20S-03-11330

CUSHION

19

01580-11008

NUT

20

01602-01030

WASHER,SPRING

21

01643-31032

WASHER

22

20S-03-12111

HOSE

23

20S-03-12121

HOSE

24

07281-00419

CLAMP

Выбрано товаров: 25