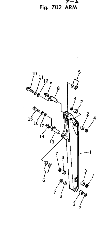
Запчасти Komatsu PC30-1 РУКОЯТЬ РАБОЧЕЕ ОБОРУДОВАНИЕ

Схема запчастей Komatsu PC30-1 - РУКОЯТЬ РАБОЧЕЕ ОБОРУДОВАНИЕ
FIT
1:1
100%

Артикул

Название

Примечание

Количество

|$0

20S-70-00030

ARM ASS'Y

1

ARM

2

20S-70-11260

BUSHING

2

07143-10404

BUSHING

3

20S-70-11270

BUSHING

3

07143-10304

BUSHING

4

07145-00040

SEAL,DUST

5

20R-70-11260

SPACER, 1.0MM

6

20R-70-11270

SPACER, 1.0MM

7

07145-00035

SEAL,DUST

8

20R-70-11171

PIN

9

07020-00000

FITTING,GREASE

10

01010-31230

BOLT

11

01602-01236

WASHER,SPRING

12

01643-31232

WASHER

13

20R-70-11212

PIN

14

07020-00000

FITTING,GREASE

15

01010-31230

BOLT

16

01602-01236

WASHER,SPRING

17

01643-31232

WASHER

Выбрано товаров: 20