Запчасти Komatsu PC30-1 ОБОГРЕВАТЕЛЬ. ОПЦИОННЫЕ КОМПОНЕНТЫ

Схема запчастей Komatsu PC30-1 - ОБОГРЕВАТЕЛЬ. ОПЦИОННЫЕ КОМПОНЕНТЫ
FIT
1:1
100%

Артикул

Название

Примечание

Количество

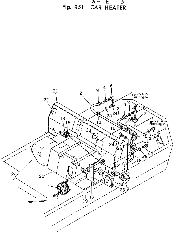
1

09480-40000

HEATER

2

09483-00422

HOSE

3

09483-00417

HOSE

4

07281-00259

CLAMP

5

131-902-1370

TAPE

6

20S-977-1170

ELBOW

7

154-865-1160

ELBOW

8

201-54-24130

VALVE

9

202-981-1360

BUSHING

10

08036-02514

CLIP

11

201-54-24120

CLIP

12

120-06-24110

GROMMET

13

09481-01200

SWITCH

14

20S-977-1130

WIRE

15

20S-977-1140

WIRE

16

20S-977-1150

WIRE

17

20S-977-1110

BRACKET

18

20S-977-1180

BRACKET

19

20S-977-1120

COVER

20

20S-977-1160

BOX

21

20S-977-1190

COVER

22

20R-54-21420

SHEET

23

20S-977-1210

SHEET

24

01010-31025

BOLT

25

01602-01030

WASHER,SPRING

Выбрано товаров: 25