Запчасти Komatsu PC30-3 ГИДРОЛИНИЯ (КЛАПАН TO/FROM ПОВОРОТНОЕ СОЕДИНЕНИЕ) ХОД И КОНЕЧНАЯ ПЕРЕДАЧА

Схема запчастей Komatsu PC30-3 - ГИДРОЛИНИЯ (КЛАПАН TO/FROM ПОВОРОТНОЕ СОЕДИНЕНИЕ) ХОД И КОНЕЧНАЯ ПЕРЕДАЧА
FIT
1:1
100%

Артикул

Название

Примечание

Количество

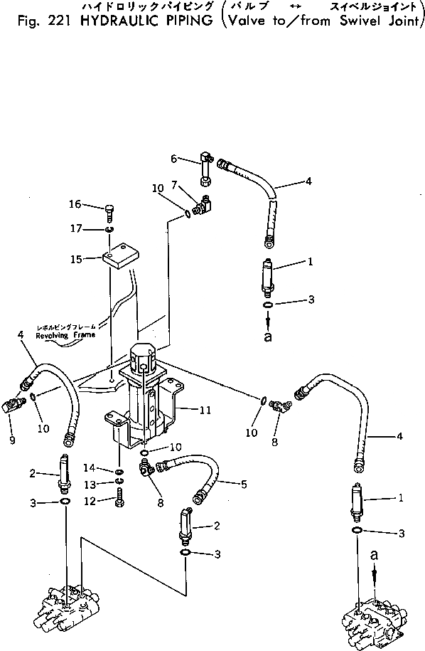
1

20R-62-21510

ELBOW

2

20R-62-21520

ELBOW

3

07002-12034

O-RING

4

20R-62-21440

HOSE

5

20R-62-21430

HOSE

6

20S-62-15161

TUBE

7

20R-62-21530

ELBOW

8

20R-62-21540

ELBOW

9

20R-62-21550

ELBOW

10

07002-11823

O-RING

11

703-05-12110

SWIVEL JOINT ASS'Y

12

01010-51240

BOLT

13

01602-21236

WASHER,SPRING

14

01643-31232

WASHER

15

20S-60-12110

PLATE

16

01010-51240

BOLT

17

01602-21236

WASHER,SPRING

Выбрано товаров: 0