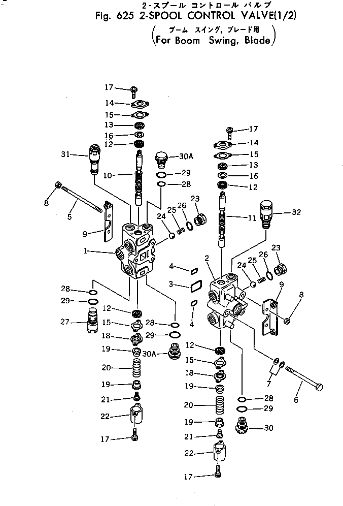
Запчасти Komatsu PC30-3 2-Х СЕКЦИОНН. УПРАВЛЯЮЩ. КЛАПАН (/)(ДЛЯ СТРЕЛЫ¤ПОВОРОТН.¤ОТВАЛ) ГИДРАВЛИКА

Схема запчастей Komatsu PC30-3 - 2-Х СЕКЦИОНН. УПРАВЛЯЮЩ. КЛАПАН (/)(ДЛЯ СТРЕЛЫ¤ПОВОРОТН.¤ОТВАЛ) ГИДРАВЛИКА
FIT
1:1
100%

Артикул

Название

Примечание

Количество

|1

700-22-44000

VALVE ASS'Y

1

BODY

2

COVER

3

07000-13040

O-RING

4

700-22-11450

O-RING

5

700-22-11211

STUD

6

700-22-11731

BOLT

7

01643-31032

WASHER

8

01580-10806

NUT

9

700-26-11170

ANGLE

10

SPOOL,BOOM SWING

11

SPOOL,BLADE

12

700-22-11252

U-PACKING

13

700-22-11261

SEAL,DUST

14

700-22-11270

PLATE

15

700-22-11420

GASKET

16

700-22-11430

COLLAR

17

01252-30616

BOLT

18

700-22-11281

PLATE

19

700-22-11290

RETAINER

20

700-22-11311

SPRING

21

700-22-11320

PLUG

22

700-22-11331

COVER

23

700-22-11351

PLUG

24

700-22-12340

BALL

25

700-22-12350

SPRING

26

07002-12434

O-RING

27

700-22-11380

PLUG

28

07000-12014

O-RING

29

07002-02434

O-RING

30

700-22-11360

PLUG

30A

700-20-81000

VALVE ASS'Y

31

700-23-58001

VALVE ASS'Y,MAIN RELIEF

32

700-20-72000

VALVE ASS'Y,BLADE

Выбрано товаров: 34