Запчасти Komatsu PC30-3 ЦИЛИНДР СТРЕЛЫ ГИДРАВЛИКА

Схема запчастей Komatsu PC30-3 - ЦИЛИНДР СТРЕЛЫ ГИДРАВЛИКА
FIT
1:1
100%

Артикул

Название

Примечание

Количество

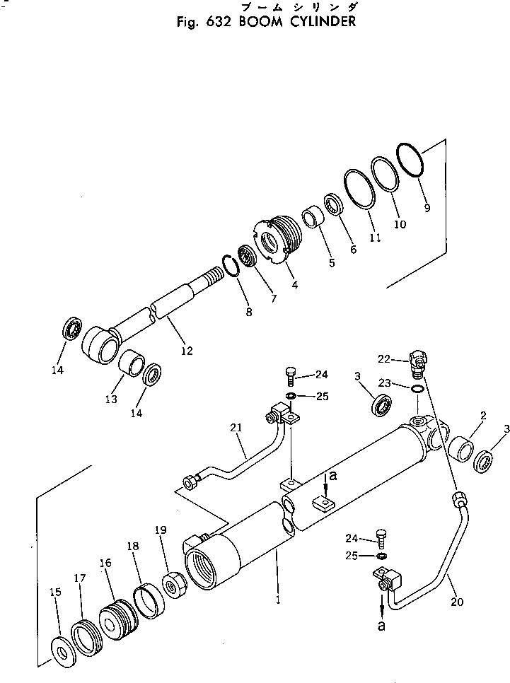
|1

20S-63-56102

CYLINDER ASS'Y

1

20S-63-56141

CYLINDER

2

07143-10404

BUSHING

3

07145-00040

SEAL,DUST

4

707-29-80190

HEAD,CYLINDER

5

07177-04025

BUSHING

6

707-51-40210

PACKING,ROD

7

198-63-75190

SEAL,DUST

8

07179-00059

RING,SNAP

9

07000-12085

O-RING

10

07001-02085

RING,BACK-UP

11

707-45-80010

LOCK

12

20S-63-56120

ROD,PISTON

13

07143-10404

BUSHING

14

07145-00040

SEAL,DUST

15

707-40-80180

RETAINER

16

707-36-80180

PISTON

17

707-44-80080

RING,PISTON

18

07155-00820

RING,WEAR

19

07165-13033

NUT,NYLON

20

20S-63-56190

TUBE

21

20S-63-56180

TUBE

22

07235-10315

ELBOW

23

07002-12034

O-RING

24

01010-51020

BOLT

25

01605-11023

WASHER

Выбрано товаров: 26