Запчасти Komatsu PC30-3 РАДИАТОР И ТРУБЫ КОМПОНЕНТЫ ДВИГАТЕЛЯ И ЭЛЕКТРИКА

Схема запчастей Komatsu PC30-3 - РАДИАТОР И ТРУБЫ КОМПОНЕНТЫ ДВИГАТЕЛЯ И ЭЛЕКТРИКА
FIT
1:1
100%

Артикул

Название

Примечание

Количество

|1

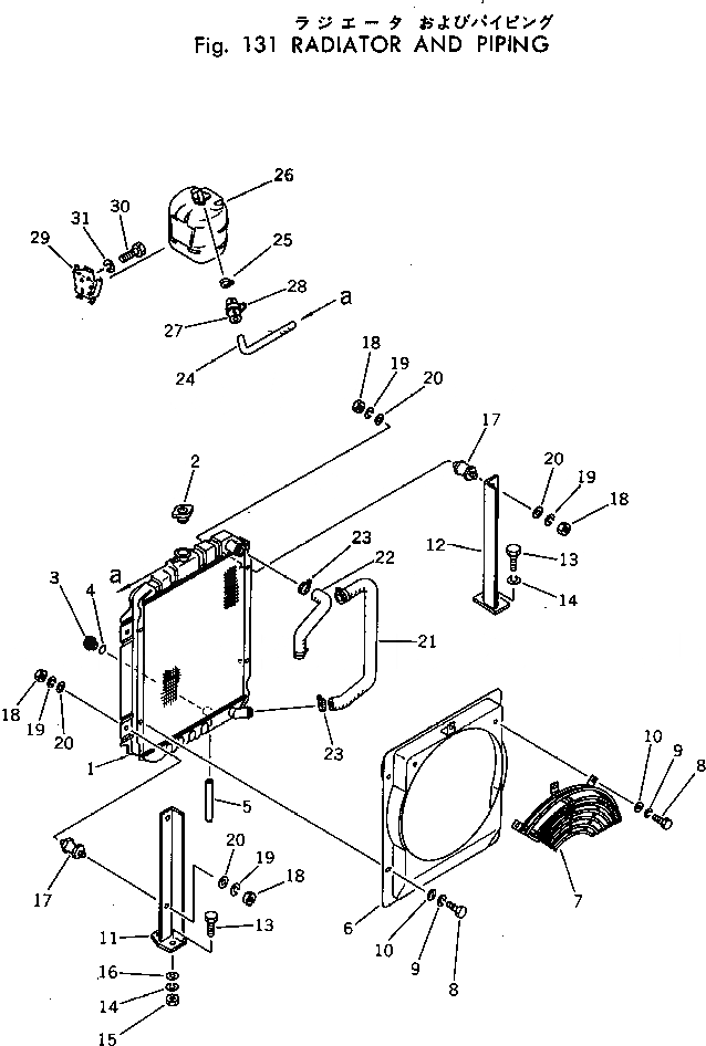
20S-03-11202

RADIATOR ASS'Y

1

20S-03-11212

CORE ASS'Y

2

20S-03-11250

CAP

3

20N-03-11181

PLUG

4

07000-01007

O-RING

5

07270-00820

TUBE

6

20S-03-11222

SHROUD

7

20S-03-11242

NET,WIRE

8

01010-30820

BOLT

9

01602-00825

WASHER,SPRING

10

01643-30823

WASHER

11

20S-03-11310

BRACKET,L.H.

12

20S-03-11320

BRACKET,R.H.

13

01010-31025

BOLT

14

01602-01030

WASHER,SPRING

15

01580-11008

NUT

16

01643-31032

WASHER

17

20S-03-11330

CUSHION

18

01580-11008

NUT

19

01602-01030

WASHER,SPRING

20

01643-31032

WASHER

21

20S-03-12111

HOSE

22

20S-03-12121

HOSE

23

07281-00419

CLAMP

24

20S-03-11260

HOSE

25

07281-00137

CLAMP

26

362-03-14110

TANK

27

201-43-22190

BUSHING

28

08034-00519

BAND

29

362-03-14120

BRACKET

30

01010-50616

BOLT

31

01602-20619

WASHER,SPRING

Выбрано товаров: 32