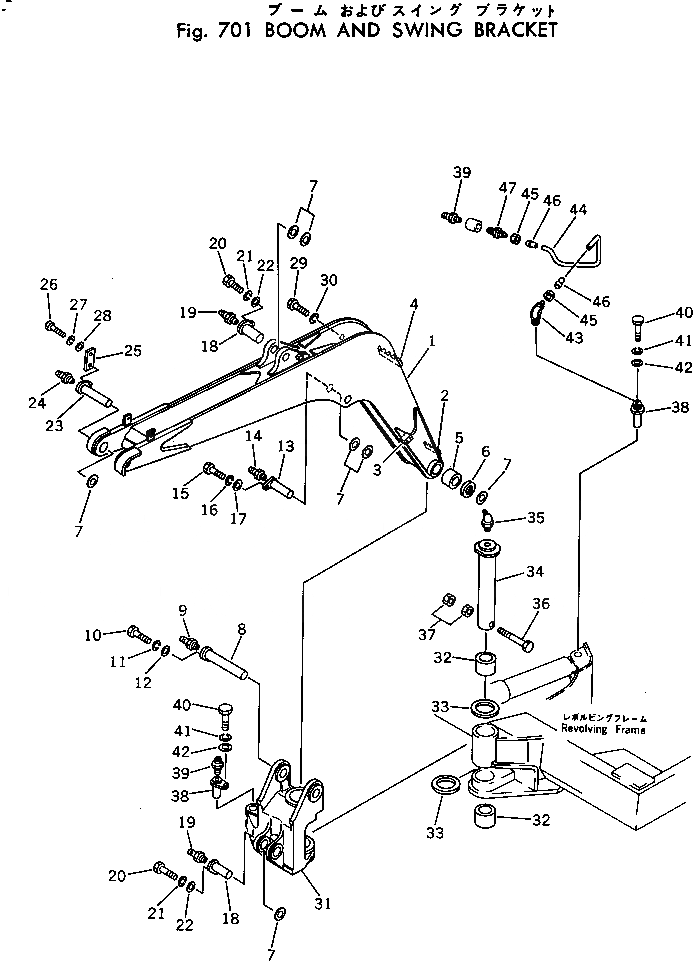
Запчасти Komatsu PC30-3 СТРЕЛА И ПОВОРОТН. БЛОК РАБОЧЕЕ ОБОРУДОВАНИЕ

Схема запчастей Komatsu PC30-3 - СТРЕЛА И ПОВОРОТН. БЛОК РАБОЧЕЕ ОБОРУДОВАНИЕ
FIT
1:1
100%

Артикул

Название

Примечание

Количество

|1

20S-70-00010

BOOM ASS'Y

1

BOOM

2

20R-70-12140

PLATE (WELDED)

3

20R-70-12160

PLATE (WELDED)

4

20R-70-12150

SUPPORT (WELDED)

5

20S-70-11220

BUSHING

6

07145-00040

SEAL,DUST

7

20R-70-11260

SPACER¤ 1.0MM

8

20R-70-11163

PIN

9

07020-00000

FITTING,GREASE

10

01010-31230

BOLT

11

01602-01236

WASHER,SPRING

12

01643-31232

WASHER

13

20R-70-11181

PIN

14

07020-00000

FITTING,GREASE

15

01010-31230

BOLT

16

01602-01236

WASHER,SPRING

17

01643-31232

WASHER

18

20R-70-11171

PIN

19

07020-00000

FITTING,GREASE

20

01010-31230

BOLT

21

01602-01236

WASHER,SPRING

22

01643-31232

WASHER

23

20R-70-11194

PIN

24

07020-00000

FITTING,GREASE

25

20R-70-11250

PLATE

26

01010-31230

BOLT

27

01602-01236

WASHER,SPRING

28

01643-31232

WASHER

29

01010-31230

BOLT

30

01602-01236

WASHER,SPRING

|31

20S-70-00020

BRACKET ASS'Y,BOOM SWING

31

BRACKET,BOOM SWING

32

20S-70-11230

BUSHING

33

20R-70-14130

WASHER

34

20R-70-14161

PIN

35

07020-00675

FITTING,GREASE

36

01011-31650

BOLT

37

01580-01613

NUT

38

20R-70-14140

PIN

39

07020-00000

FITTING,GREASE

40

01010-31230

BOLT

41

01602-01236

WASHER,SPRING

42

01643-31232

WASHER

43

20R-46-11150

ELBOW

44

20T-70-15160

TUBE

45

07832-00410

NUT

46

07831-00411

SLEEVE

47

20R-46-11160

CONNECTOR

Выбрано товаров: 49