Запчасти Komatsu PC30-3 ЗАЩИТА ОТ ВАНДАЛИЗМА ДЛЯ КАПОТА ОПЦИОННЫЕ КОМПОНЕНТЫ

Схема запчастей Komatsu PC30-3 - ЗАЩИТА ОТ ВАНДАЛИЗМА ДЛЯ КАПОТА ОПЦИОННЫЕ КОМПОНЕНТЫ
FIT
1:1
100%

Артикул

Название

Примечание

Количество

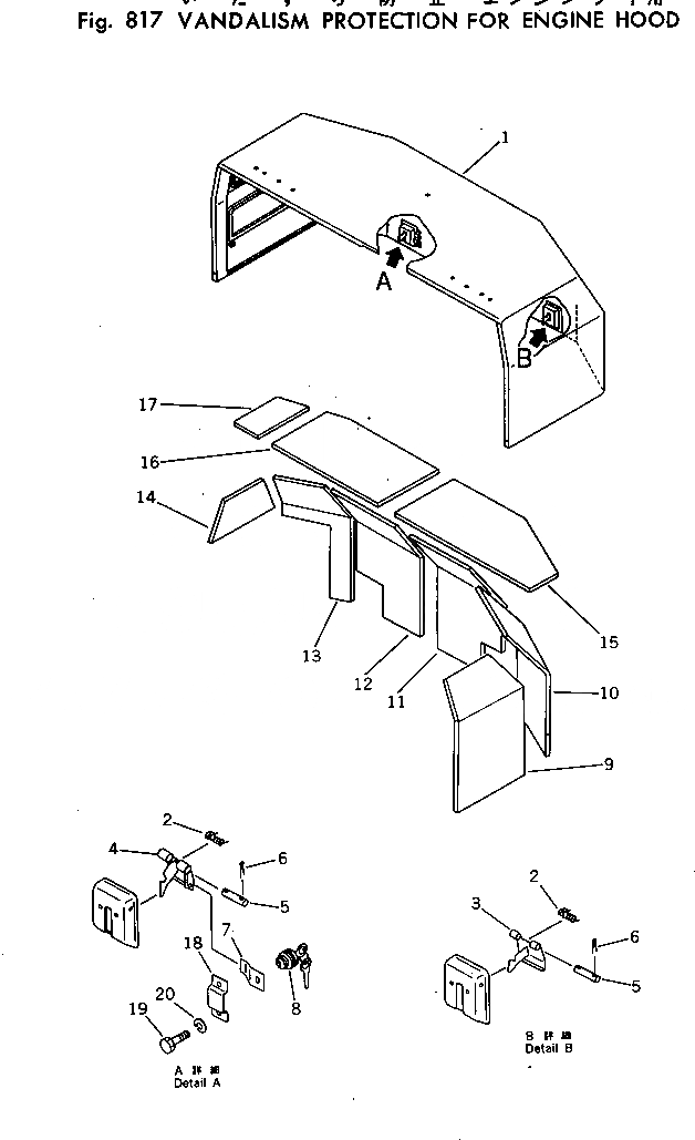
|1

20R-54-23200

HOOD ASS'Y

1

20R-54-23210

HOOD

2

20T-54-26430

SPRING

3

20R-54-21160

LEVER

4

20R-54-23230

LEVER

5

09461-00022

PIN

6

04050-13018

PIN,COTTER

7

20R-54-23240

PLATE

8

205-54-63730

LOCK ASS'Y

9

20R-54-21710

SHEET

10

20R-54-21720

SHEET

11

20R-54-21730

SHEET

12

20R-54-23250

SHEET

13

20R-54-21740

SHEET

14

20R-54-21750

SHEET

15

20R-54-21770

SHEET

16

20R-54-21780

SHEET

17

20R-54-21760

SHEET

18

20T-54-28130

COVER

19

01010-50812

BOLT

20

01643-30823

WASHER

Выбрано товаров: 21