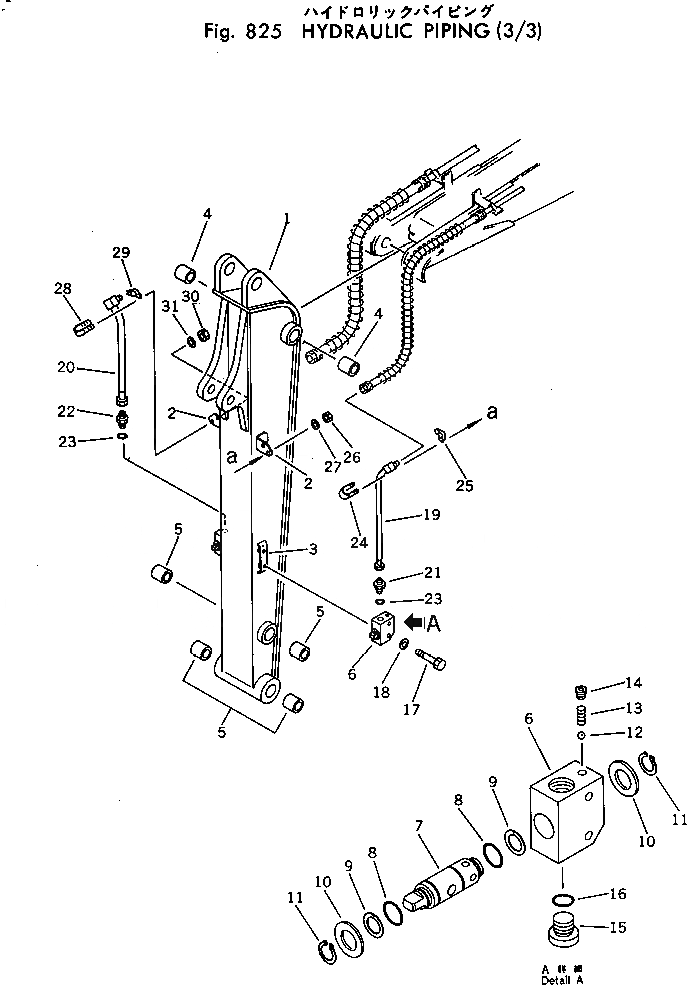
Запчасти Komatsu PC30-3 ГИДРОЛИНИЯ (/) (НАВЕСН. ОБОРУД.) ОПЦИОННЫЕ КОМПОНЕНТЫ

Схема запчастей Komatsu PC30-3 - ГИДРОЛИНИЯ (/) (НАВЕСН. ОБОРУД.) ОПЦИОННЫЕ КОМПОНЕНТЫ
FIT
1:1
100%

Артикул

Название

Примечание

Количество

|1

20S-973-0020

ARM ASS'Y

1

ARM

2

20S-973-1591

BRACKET,L.H. (WELDED)

|2

20S-973-1581

BRACKET,R.H. (WELDED)

3

20S-973-1571

BRACKET (WELDED)

4

20S-70-11260

BUSHING

5

20S-70-11270

BUSHING

|6

20X-973-1200

VALVE ASS'Y,STOPPER

6

20X-973-1210

BODY

7

20X-973-1220

SPOOL

8

07000-13025

O-RING

9

07001-03025

RING,BACK-UP

10

01643-32060

WASHER

11

04064-02012

RING,SNAP

12

04260-00793

BALL

13

236-10-12240

SPRING

14

07043-00108

PLUG

15

07040-12414

PLUG

16

07002-12434

O-RING

17

01010-51060

BOLT

18

01643-31032

WASHER

19

20S-973-1551

TUBE,L.H.

20

20S-973-1541

TUBE,R.H.

21

114-62-23110

NIPPLE

22

232-60-14271

NIPPLE

23

07002-12434

O-RING

24

07283-21529

CLIP

25

07283-51523

SEAT

26

01598-00809

NUT

27

01643-30823

WASHER

28

07283-22236

CLIP

29

07283-52232

SEAT

30

01599-01011

NUT

31

01643-31032

WASHER

Выбрано товаров: 34