Запчасти Komatsu PC30-3 УСИЛЕНН. ОТВАЛ (С РЕЖУЩ. КРОМКА) ОПЦИОННЫЕ КОМПОНЕНТЫ

Схема запчастей Komatsu PC30-3 - УСИЛЕНН. ОТВАЛ (С РЕЖУЩ. КРОМКА) ОПЦИОННЫЕ КОМПОНЕНТЫ
FIT
1:1
100%

Артикул

Название

Примечание

Количество

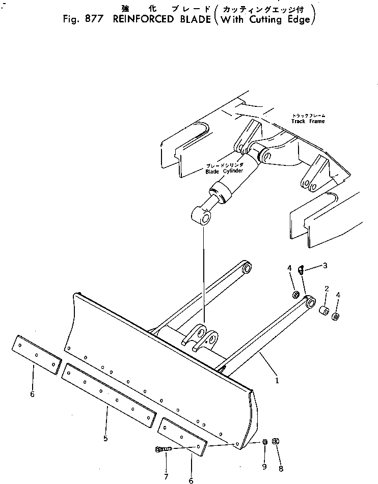
|1

20S-71-00030

BLADE ASS'Y

1

BLADE

2

07144-10304

BUSHING

3

07020-00675

FITTING,GREASE

4

07145-00035

SEAL,DUST

5

20S-71-12220

EDGE,CUTTING

6

20S-71-12230

EDGE,CUTTING

7

02090-10845

BOLT

8

02290-10813

NUT

9

01643-31445

WASHER

Выбрано товаров: 0