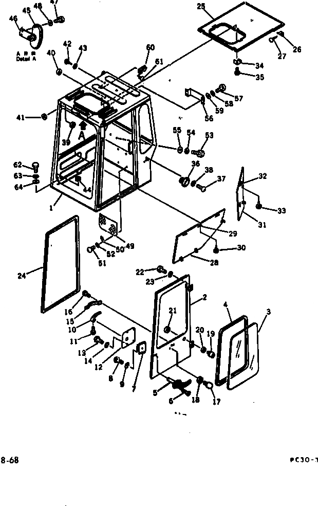
Запчасти Komatsu PC30-3 КАБИНА (/) (СПЕЦ-Я TBG) ОПЦИОННЫЕ КОМПОНЕНТЫ

Схема запчастей Komatsu PC30-3 - КАБИНА (/) (СПЕЦ-Я TBG) ОПЦИОННЫЕ КОМПОНЕНТЫ
FIT
1:1
100%

Артикул

Название

Примечание

Количество

|$0

20T-54-27401

CAB ASS'Y

1

20T-54-27411

CAB

2

20T-54-27420

DOOR

3

20T-54-27470

GLASS

4

09410-00285

STRIP,WEATHER

5

20T-54-27560

HANDLE

6

01225-40412

SCREW

7

20T-54-25320

LOCK

8

01220-40612

SCREW

9

01602-00619

WASHER,SPRING

10

09454-00010

HANDLE

11

01220-40408

SCREW

12

20T-54-25330

COVER

13

01220-40410

SCREW

14

01601-00410

WASHER,SPRING

15

565-54-13880

GRIP

16

01224-40520

SCREW

17

20T-54-27591

STOPPER

18

01580-11210

NUT

19

20T-54-25351

CATCH

20

20T-54-27580

PLATE

21

09415-02512

CAP

22

01010-31025

BOLT

23

01602-01030

WASHER,SPRING

24

20T-54-27570

SEAL

25

20T-54-27481

COVER,INSIDE

26

20T-54-25390

PLATE

27

01370-00508

SCREW

28

20T-54-27491

COVER,INSIDE

29

20T-54-25390

PLATE

30

01370-00508

SCREW

31

20T-54-27511

COVER,INSIDE

32

20T-54-25390

PLATE

33

01370-00508

SCREW

34

20T-54-27520

PLATE

35

01224-40408

SCREW

36

20T-54-25340

CATCH

37

01220-40516

SCREW

38

01601-00513

WASHER,SPRING

39

08037-01008

GROMMET

40

09415-01008

CAP

41

09145-00506

CAP

42

01370-00408

SCREW

43

01641-20405

WASHER

44

08037-02512

GROMMET

45

20B-06-21230

MIRROR,BACK

46

20T-54-27540

BRACKET

47

01220-40820

SCREW

48

01602-00825

WASHER,SPRING

49

565-54-13850

POCKET

50

565-54-13860

SADDLE

51

01370-00410

SCREW

52

01611-04045

WASHER

53

01010-30616

BOLT

54

01602-00619

WASHER,SPRING

55

01642-20608

WASHER

56

20T-54-27780

COVER

57

01220-40612

SCREW

58

01602-20619

WASHER,SPRING

59

01641-20608

WASHER

60

205-54-51250

HANGER

61

01381-10420

SCREW

62

01010-31025

BOLT

63

01602-01030

WASHER,SPRING

64

01643-31032

WASHER

Выбрано товаров: 65