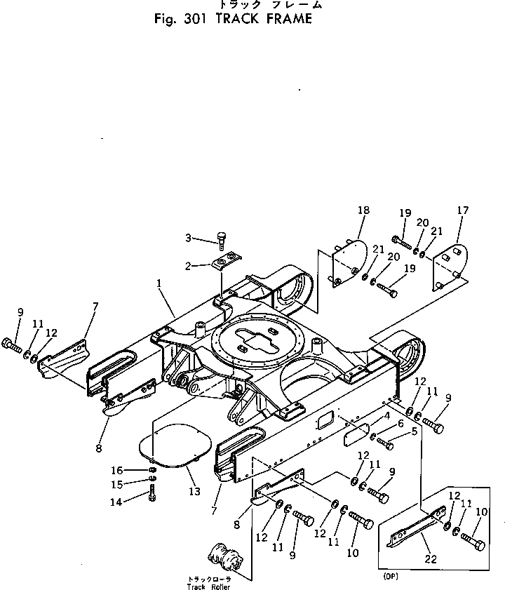
Запчасти Komatsu PC30-3 ГУСЕНИЧНАЯ РАМА ХОДОВАЯ

Схема запчастей Komatsu PC30-3 - ГУСЕНИЧНАЯ РАМА ХОДОВАЯ
FIT
1:1
100%

Артикул

Название

Примечание

Количество

1

20S-30-11112

FRAME,TRACK

1

20S-30-11610

FRAME,TRACK (FOR CARRIER ROLLER)

2

20R-30-11190

PLATE

3

01010-51225

BOLT

4

20R-30-21170

COVER

5

01010-51020

BOLT

6

01602-21030

WASHER,SPRING

7

20S-30-11520

GUARD,INNER, L.H. AND OUTER, R.H.

8

20S-30-11510

GUARD,OUTER, L.H. AND INNER, R.H.

9

01010-51435

BOLT

9

01010-51435

BOLT (OP)

10

01010-51445

BOLT

10

01010-51445

BOLT (OP)

11

01602-21442

WASHER,SPRING

12

01643-21432

WASHER

13

20R-30-21210

COVER

14

01010-51030

BOLT

15

01602-21030

WASHER,SPRING

16

01643-31032

WASHER

17

20R-30-21181

COVER,L.H.

18

20R-30-21191

COVER,R.H.

19

01010-51090

BOLT

20

01602-21030

WASHER,SPRING

21

01643-31032

WASHER

22

20S-30-11530

GUARD (OP)

Выбрано товаров: 25