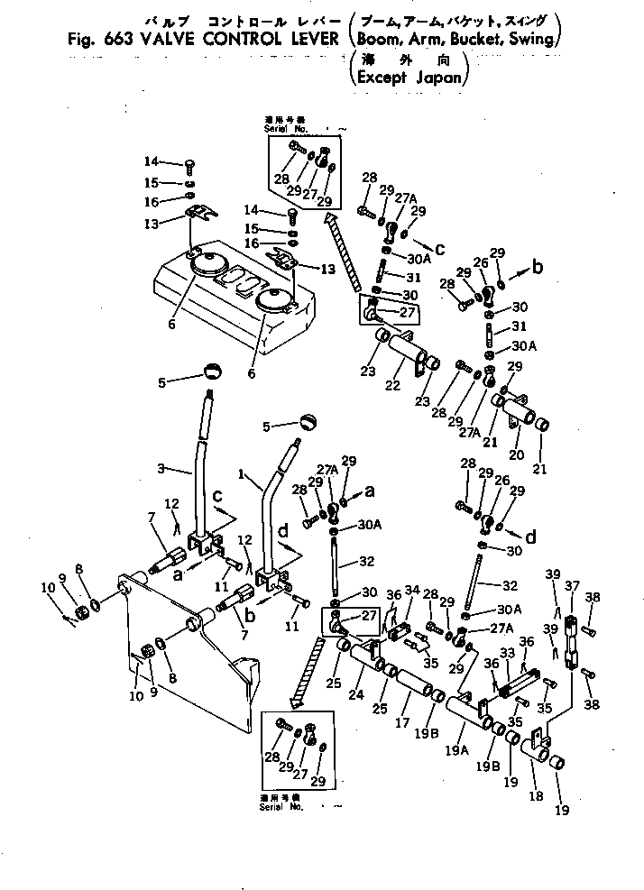
Запчасти Komatsu PC30-3 КЛАПАН РЫЧАГ УПРАВЛ-Я (СТРЕЛА¤РУКОЯТЬ¤КОВШ¤ПОВОРОТН.)(КРОМЕ ЯПОН.) ГИДРАВЛИКА

Схема запчастей Komatsu PC30-3 - КЛАПАН РЫЧАГ УПРАВЛ-Я (СТРЕЛА¤РУКОЯТЬ¤КОВШ¤ПОВОРОТН.)(КРОМЕ ЯПОН.) ГИДРАВЛИКА
FIT
1:1
100%

Артикул

Название

Примечание

Количество

1

20S-43-11550

LEVER

2

20R-43-11560

LEVER

3

20R-43-11280

KNOB

4

20S-43-11380

SHAFT

5

20S-43-11410

PIN

6

04050-13020

PIN,COTTER

7

20S-43-11390

WASHER

8

01593-11411

NUT

9

04050-13022

PIN,COTTER

|$9

20S-43-00340

LEVER ASS'Y

10

LEVER

11

09350-02220

BUSHING

|$12

20S-43-00330

LEVER ASS'Y

12

LEVER

13

09350-02220

BUSHING

|$15

20S-43-00200

LEVER ASS'Y

14

LEVER

15

09350-02220

BUSHING

16

20S-43-11430

COLLAR

|$19

20S-43-00350

LEVER ASS'Y

17

LEVER

18

09350-02220

BUSHING

|$22

20S-43-00320

LEVER ASS'Y

19

LEVER

20

09350-02220

BUSHING

21

04248-31217

ROD

22

20S-43-11471

ROD

23

04250-51265

END,ROD

24

01582-11210

NUT

25

04250-71265

END,ROD, L.H. THREAD

26

01508-21207

NUT,L.H. THREAD

27

01010-31235

BOLT

28

04254-01232

SPACER

29

20S-43-11340

YOKE

30

20S-43-11350

YOKE

31

20S-43-11540

YOKE

32

04205-10622

PIN

33

04050-11610

PIN,COTTER

34

20S-43-11370

COVER

35

20S-43-11421

HINGE

36

01010-30820

BOLT

37

01602-00825

WASHER,SPRING

38

01643-30823

WASHER

Выбрано товаров: 43