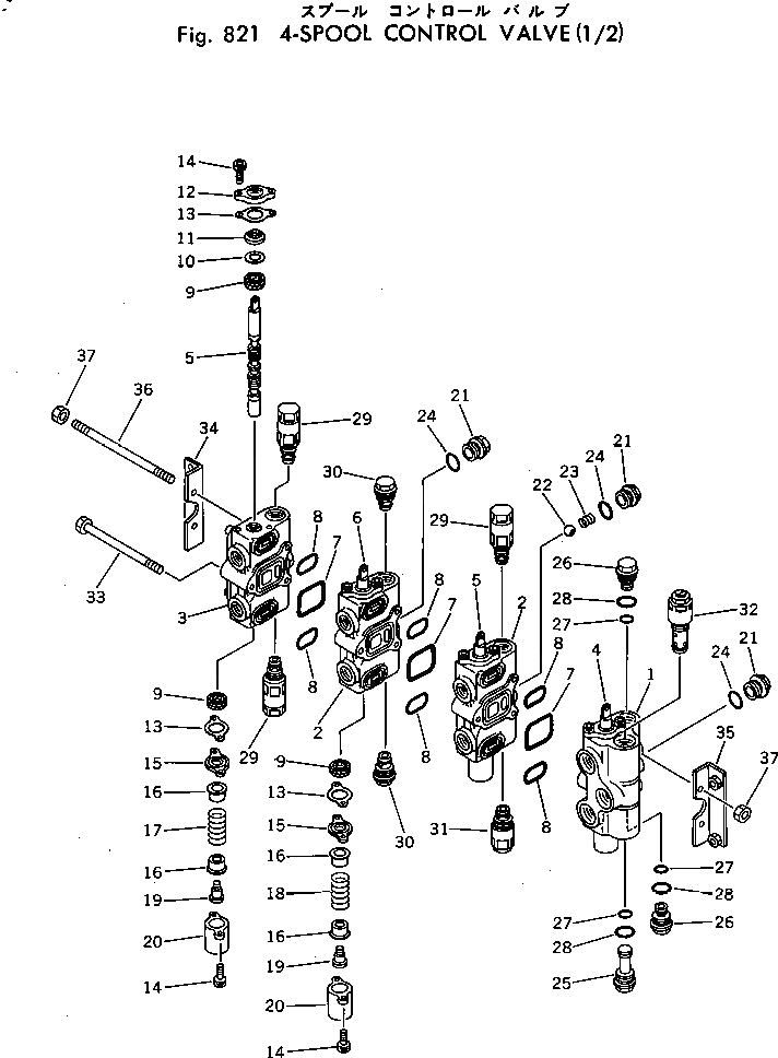
Запчасти Komatsu PC30-3 4-Х СЕКЦИОНН. УПРАВЛЯЮЩ. КЛАПАН (/) (С НАВЕСН. ОБОРУД) ОПЦИОННЫЕ КОМПОНЕНТЫ

Схема запчастей Komatsu PC30-3 - 4-Х СЕКЦИОНН. УПРАВЛЯЮЩ. КЛАПАН (/) (С НАВЕСН. ОБОРУД) ОПЦИОННЫЕ КОМПОНЕНТЫ
FIT
1:1
100%

Артикул

Название

Примечание

Количество

|$0

700-24-45000

VALVE ASS'Y

1

BODY,VALVE

2

BLOCK,VALVE

3

COVER,VALVE

4

SPOOL

5

SPOOL

6

SPOOL

7

07000-13040

O-RING

8

700-22-11450

O-RING

9

700-22-11252

U-PACKING

10

700-22-11430

COLLAR

11

700-22-11261

SEAL,DUST

12

700-22-11270

PLATE

13

700-22-11420

GASKET

14

01252-30616

BOLT

15

700-22-11281

PLATE

16

700-22-11290

RETAINER

17

700-22-11311

SPRING

18

700-23-13130

SPRING

19

700-22-11320

PLUG

20

700-22-11331

COVER

21

700-22-11351

PLUG

22

700-22-12340

BALL

23

700-22-12350

SPRING

24

07002-12434

O-RING

25

700-26-11150

PLUG

26

700-22-11360

PLUG

27

07000-12014

O-RING

28

07002-02434

O-RING

29

700-20-66001

VALVE ASS'Y,SUCTION AND SAFETY

30

700-20-81000

VALVE ASS'Y,SUCTION

31

700-20-68000

VALVE ASS'Y,SAFETY

32

700-20-58000

VALVE ASS'Y,MAIN RELIEF

33

700-24-13140

BOLT

34

700-26-11170

ANGLE

35

700-22-11220

ANGLE

36

700-24-13110

STUD

37

01580-10806

NUT

Выбрано товаров: 38