Запчасти Komatsu PC30-3 ПАНЕЛЬ ПРИБОРОВ (СПЕЦ-Я TBG) ОПЦИОННЫЕ КОМПОНЕНТЫ

Схема запчастей Komatsu PC30-3 - ПАНЕЛЬ ПРИБОРОВ (СПЕЦ-Я TBG) ОПЦИОННЫЕ КОМПОНЕНТЫ
FIT
1:1
100%

Артикул

Название

Примечание

Количество

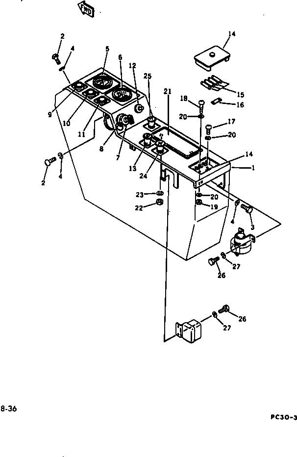
1

20S-06-14220

PANEL

2

01220-40816

SCREW

3

01010-30816

BOLT

4

01602-00825

WASHER,SPRING

5

362-06-11140

GAUGE,WATER TEMPERATURE

6

08687-21202

METER,SERVICE

7

201-06-21510

SWITCH,STARTING

8

205-26-91140

SPACER

9

10E-06-22150

LAMP,BATTERY CHARGE

10

10E-06-22140

LAMP,CAUTION, OIL PRESSURE

11

20S-06-14130

LAMP,ENGINE THERMOSTART

12

08501-22501

SWITCH,MOMENT LIMIT

13

08061-30010

SWITCH,LAMP

14

20R-06-22210

BOX,FUSE

15

08040-02000

FUSE, 20A

16

150-06-14290

TERMINAL

17

01220-40520

SCREW

18

01220-40525

SCREW

19

01580-10504

NUT

20

01601-20513

WASHER,SPRING

21

20S-06-12120

COVER

22

01580-10806

NUT

23

01602-00825

WASHER,SPRING

24

09481-01200

SWITCH,HEATER

25

205-06-61160

SWITCH,WIPER

26

01010-30610

BOLT

27

01602-00619

WASHER,SPRING

Выбрано товаров: 27