Запчасти Komatsu PC30-5 МЕХАНИЗМ ПОВОРОТА ПОВОРОТН. И СИСТЕМА УПРАВЛЕНИЯ

Схема запчастей Komatsu PC30-5 - МЕХАНИЗМ ПОВОРОТА ПОВОРОТН. И СИСТЕМА УПРАВЛЕНИЯ
FIT
1:1
100%

Артикул

Название

Примечание

Количество

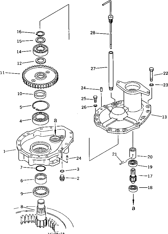
1

20S-26-11150

CASE

2

07044-12412

PLUG

3

07002-02434

O-RING

4

06030-22211

BEARING

5

04065-01030

RING,SNAP

6

20R-26-11330

COLLAR

7

07000-02055

O-RING

8

20S-26-11111

SHAFT

9

07012-00070

SEAL,OIL

10

20R-26-11340

COLLAR

11

20S-26-11120

GEAR

12

20S-26-11170

COLLAR

13

20S-26-21110

CASE

14

06044-00308

BEARING

15

20R-26-11360

COLLAR

16

04064-04018

RING,SNAP

17

20S-26-11130

SHAFT

18

06040-06304

BEARING

19

06044-00205

BEARING

20

201-26-41141

COUPLING

21

04050-15050

PIN,COTTER

22

01010-51035

BOLT

23

01602-21030

WASHER,SPRING

24

04020-01434

PIN,DOWEL

25

01011-51200

BOLT

26

01602-21236

WASHER,SPRING

27

20S-26-11180

FILLER

28

20S-26-11190

GAUGE

Выбрано товаров: 28