Запчасти Komatsu PC30-5 КАБИНА (/) ОСНОВНАЯ РАМА И КАБИНА

Схема запчастей Komatsu PC30-5 - КАБИНА (/) ОСНОВНАЯ РАМА И КАБИНА
FIT
1:1
100%

Артикул

Название

Примечание

Количество

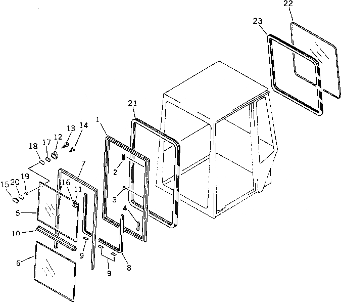
|1

20T-54-00040

OPERATOR'S CAB ASS'Y

|1

20T-54-32320

SASH ASS'Y

1

20T-54-32710

SASH

2

20T-54-32890

CATCH

3

20T-54-32910

STOPPER

4

20T-54-32920

STOPPER

5

20T-54-32660

GLASS

6

20T-54-32670

GLASS

7

20T-54-32730

CHANNEL

8

20T-54-32720

STRIP,WEATHER

9

20T-54-32790

CUSHION

10

20T-54-32330

SASH

11

20T-54-32810

LOCK ASS'Y

12

20T-54-32820

LOCK ASS'Y

13

21W-54-15130

SCREW

14

21W-54-15120

SCREW

15

20T-54-32760

RETAINER

16

20T-54-32770

RETAINER

17

20T-54-32750

PACKING¤ 2.0MM

18

20T-54-32740

PACKING

19

20T-54-32780

PACKING

20

20T-54-32870

PACKING¤ 1.0MM

21

20T-54-32420

STRIP,WEATHER

22

20T-54-32360

GLASS

23

20T-54-32460

STRIP,WEATHER

Выбрано товаров: 25