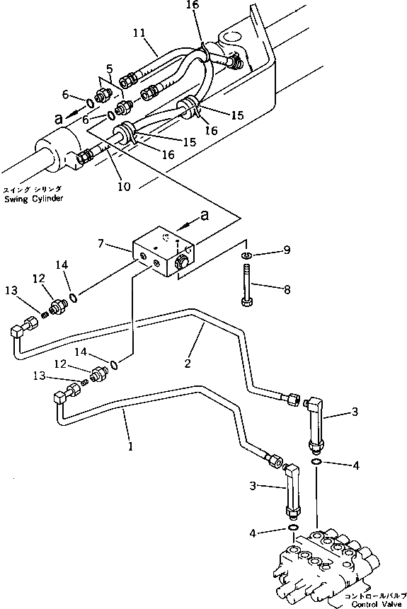
Запчасти Komatsu PC30-5 ГИДРОЛИНИЯ (КЛАПАН TO/FROM ЦИЛИНДР ПОВОРОТА СТРЕЛЫ) УПРАВЛ-Е РАБОЧИМ ОБОРУДОВАНИЕМ

Схема запчастей Komatsu PC30-5 - ГИДРОЛИНИЯ (КЛАПАН TO/FROM ЦИЛИНДР ПОВОРОТА СТРЕЛЫ) УПРАВЛ-Е РАБОЧИМ ОБОРУДОВАНИЕМ
FIT
1:1
100%

Артикул

Название

Примечание

Количество

1

20S-62-21450

TUBE

2

20S-62-21460

TUBE

3

20R-62-22260

ELBOW

4

07002-12034

O-RING

5

07230-10315

UNION

6

07002-12034

O-RING

7

20S-60-12120

CHECK VALVE ASS'Y

8

01010-50865

BOLT

9

01602-20825

WASHER,SPRING

10

20R-62-21370

HOSE

11

20R-62-21340

HOSE

12

20S-62-21441

UNION

13

20R-62-14340

PLUG

14

07002-12034

O-RING

15

202-98-11360

BUSHING

16

08034-00519

BAND

Выбрано товаров: 0