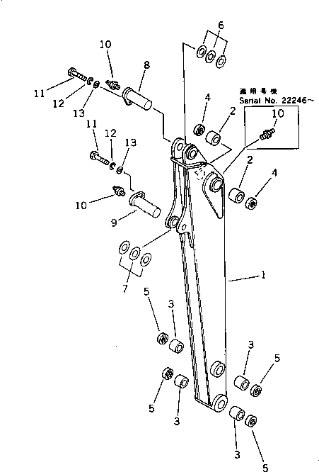
Запчасти Komatsu PC30-5 РУКОЯТЬ РАБОЧЕЕ ОБОРУДОВАНИЕ

Схема запчастей Komatsu PC30-5 - РУКОЯТЬ РАБОЧЕЕ ОБОРУДОВАНИЕ
FIT
1:1
100%

Артикул

Название

Примечание

Количество

|1

20S-70-00102

ARM ASS'Y

|1

20S-70-00101

ARM ASS'Y

|1

20S-70-00100

ARM ASS'Y

1

ARM

|1

ARM

|1

ARM

2

20S-70-21230

BUSHING

|2

20S-70-11260

BUSHING

3

20S-70-11270

BUSHING

4

07145-00040

SEAL,DUST

5

07145-00035

SEAL,DUST

6

20R-70-11260

SPACER¤ 1.0MM

7

20R-70-11270

SPACER¤ 1.0MM

8

20R-70-11171

PIN

9

20R-70-11212

PIN

10

07020-00000

FITTING,GREASE

|10

07020-00000

FITTING,GREASE

11

01010-51230

BOLT

12

01602-21236

WASHER,SPRING

13

01643-31232

WASHER

Выбрано товаров: 20